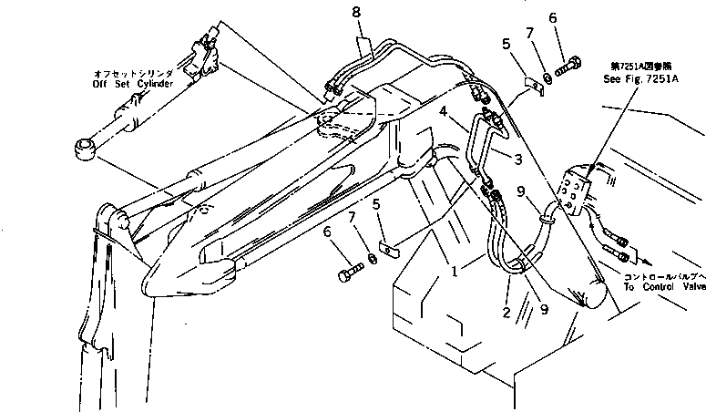
Запчасти Komatsu PC50UU-1 ГИДРОЛИНИЯ (OFFSET ЛИНИЯ ЦИЛИНДРА) (HOE )(№-) РАБОЧЕЕ ОБОРУДОВАНИЕ

Схема запчастей Komatsu PC50UU-1 - ГИДРОЛИНИЯ (OFFSET ЛИНИЯ ЦИЛИНДРА) (HOE )(№-) РАБОЧЕЕ ОБОРУДОВАНИЕ
FIT
1:1
100%

Артикул

Название

Примечание

Количество

1

07086-40327

HOSE,(SEE FIG.6539A)

2

07086-40326

HOSE,(SEE FIG.6539A)

3

20U-62-13242

TUBE

4

20U-62-13232

TUBE

5

20U-62-13360

CLAMP

6

01010-51020

BOLT

7

01643-31032

WASHER

8

07086-00312

HOSE

9

08034-10520

BAND

Выбрано товаров: 9