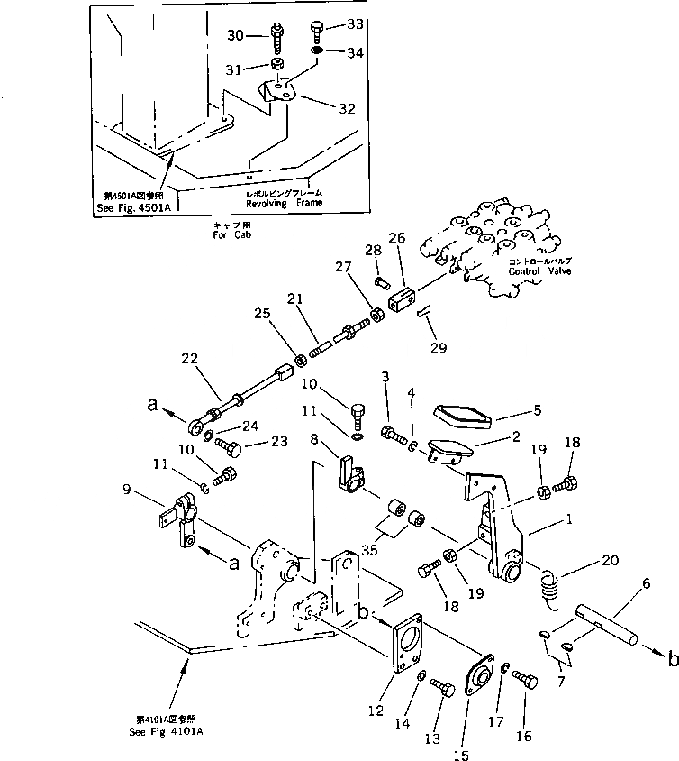
Запчасти Komatsu PC50UU-1 ПЕДАЛЬ СКОРОСТИ И МЕХАНИЗМ(№-) СИСТЕМА УПРАВЛЕНИЯ И ОСНОВНАЯ РАМА

Схема запчастей Komatsu PC50UU-1 - ПЕДАЛЬ СКОРОСТИ И МЕХАНИЗМ(№-) СИСТЕМА УПРАВЛЕНИЯ И ОСНОВНАЯ РАМА
FIT
1:1
100%

Артикул

Название

Примечание

Количество

1

20U-43-11312

LEVER

2

201-43-38150

PEDAL

2

20U-43-12230

PEDAL,(FOR CAB)

3

01010-50816

BOLT

4

01602-20825

WASHER,SPRING

5

20D-43-14370

CAP,PEDAL

6

20U-43-13380

SHAFT

7

04010-00519

KEY

8

20U-43-13390

LEVER

9

20U-43-13410

LEVER

10

01010-50830

BOLT

11

01602-20825

WASHER,SPRING

12

20U-43-13421

PLATE

13

01010-51025

BOLT

14

01643-31032

WASHER

15

20T-43-31310

BEARING

16

01010-50816

BOLT

17

01602-20825

WASHER,SPRING

18

01016-51040

BOLT

19

01580-11008

NUT

20

111-33-32131

SPRING

21

04248-31022

ROD

22

20U-43-15330

ROD

23

01010-51030

BOLT

24

01643-31032

WASHER

25

01508-41006

NUT,L.H. THREAD

26

20S-43-21570

YOKE

27

01582-11008

NUT

28

20T-43-48620

PIN

29

04050-11210

PIN,COTTER

30

09311-41237

BUMPER,(FOR CAB)

31

01580-11210

NUT,(FOR CAB)

32

20U-43-12220

BRACKET,(FOR CAB)

33

01010-51225

BOLT

34

01643-31232

WASHER

35

195-43-43190

BEARING

Выбрано товаров: 36