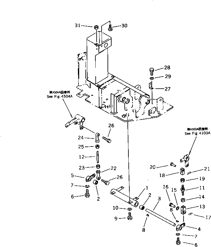
Запчасти Komatsu PC50UU-1 УВЕЛИЧ.D СТРЕЛА SPEED МЕХАНИЗМ(№-) СИСТЕМА УПРАВЛЕНИЯ И ОСНОВНАЯ РАМА

Схема запчастей Komatsu PC50UU-1 - УВЕЛИЧ.D СТРЕЛА SPEED МЕХАНИЗМ(№-) СИСТЕМА УПРАВЛЕНИЯ И ОСНОВНАЯ РАМА
FIT
1:1
100%

Артикул

Название

Примечание

Количество

1

20U-43-13360

BRACKET

2

195-61-34130

BEARING

3

20U-43-13370

SHAFT

4

11T-43-13360

LEVER

5

20U-43-14830

LEVER

6

01010-50830

BOLT

7

01602-20825

WASHER,SPRING

8

04010-00519

KEY

9

01010-51020

BOLT

10

01643-31032

WASHER

11

20S-43-11470

ROD

12

04248-31010

ROD

13

20U-43-13280

YOKE

14

01582-11008

NUT

15

01641-20812

WASHER

16

04205-10825

PIN

17

04050-12012

PIN,COTTER

18

20S-43-12150

YOKE,L.H. THREAD

19

01508-41006

NUT,L.H. THREAD

20

20T-43-48610

PIN

21

04050-12012

PIN,COTTER

22

04250-61056

END,ROD, L.H. THREAD

23

01508-41006

NUT,L.H. THREAD

24

04250-41056

END,ROD

25

01582-11008

NUT

26

01010-51030

BOLT

27

20U-43-15340

PLATE

28

01010-50612

BOLT

29

01643-30623

WASHER

30

01320-40825

SCREW

31

01580-10806

NUT

Выбрано товаров: 31