Запчасти Komatsu PC50UU-1 ПОЛ КАБИНЫ (/)(№-) ЧАСТИ КОРПУСА

Схема запчастей Komatsu PC50UU-1 - ПОЛ КАБИНЫ (/)(№-) ЧАСТИ КОРПУСА
FIT
1:1
100%

Артикул

Название

Примечание

Количество

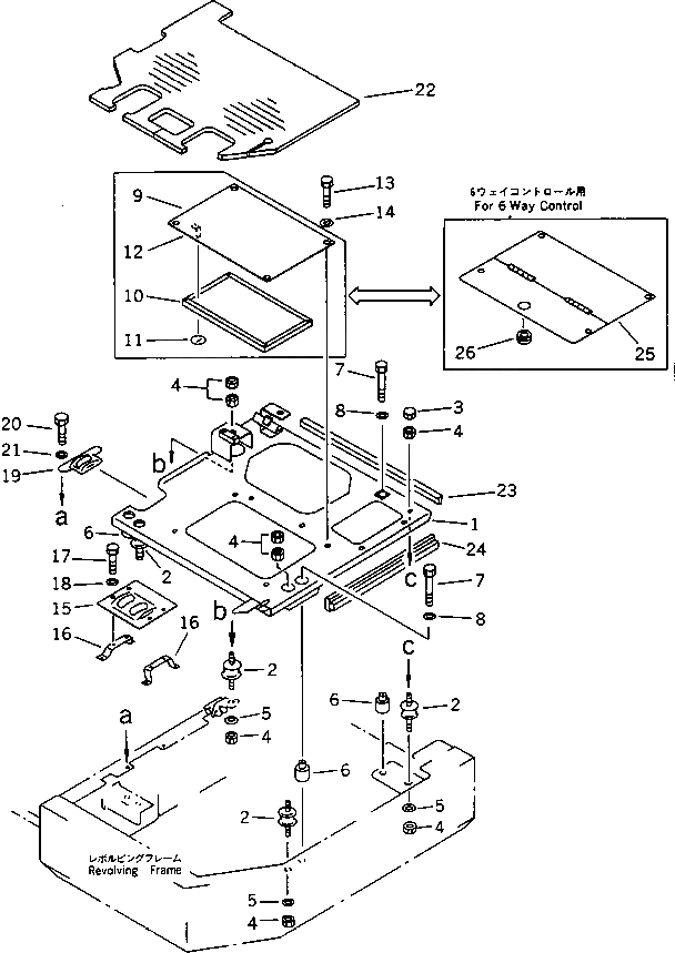
1

20U-54-13112

FRAME

2

20R-01-12111

CUSHION

3

20T-54-26130

NUT

4

01580-11210

NUT

5

01643-31232

WASHER

6

20T-54-11510

BOSS

7

01010-51680

BOLT

8

01643-31645

WASHER

9

20U-54-13272

COVER

10

20U-54-13280

SHEET

11

04431-30000

PLATE

12

04431-11000

CLIP (WELDED)

13

01010-51020

BOLT

14

01643-31032

WASHER

15

20U-54-13140

COVER

16

20U-54-13150

BRACKET

17

01010-51020

BOLT

18

01643-31032

WASHER

19

20U-54-13160

COVER

20

01010-51020

BOLT

21

01643-31032

WASHER

22

20U-54-13122

MAT

23

20U-54-11731

SHEET

24

20U-54-11692

SHEET

25

20U-54-13571

COVER,(FOR 6WAY CONTROL)

26

08037-02512

GROMMET,(FOR 6WAY CONTROL)

Выбрано товаров: 26