Запчасти Komatsu PC50UU-2 ПРОТИВОВЕС(№-) ЧАСТИ КОРПУСА

Схема запчастей Komatsu PC50UU-2 - ПРОТИВОВЕС(№-) ЧАСТИ КОРПУСА
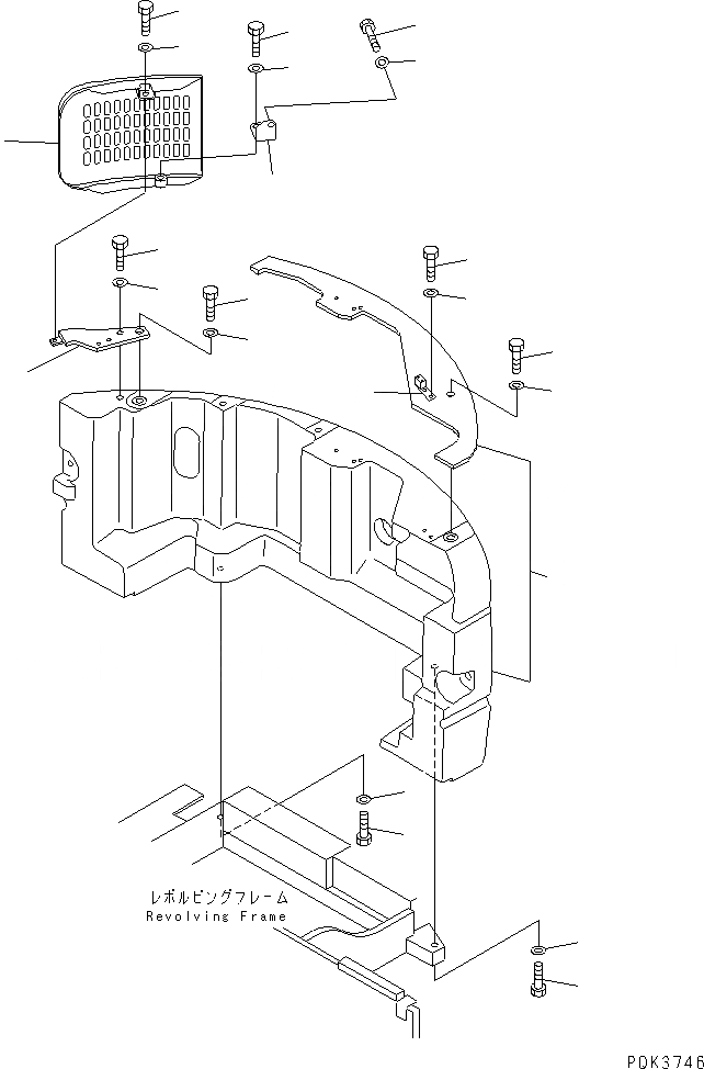
1
2
2
3
3
4
5
6
6
7
7
8
9
10
10
11
12
12
13
14
14
14
15
FIT
1:1
100%

Артикул

Название

Примечание

Количество

1

20U-46-23115

COUNTER WEIGHT

|1

20U-46-23114

COUNTER WEIGHT

2

01010-82090

BOLT

3

01643-32060

WASHER

4

20U-46-33210

PLATE,L.H.

5

20U-46-33221

PLATE,R.H.

6

01010-82450

BOLT

7

01643-32460

WASHER

8

01010-81025

BOLT

9

01010-81020

BOLT

10

01643-31032

WASHER

11

20U-46-34151

COVER

12

01010-81020

BOLT

13

01010-81016

BOLT

14

01643-31032

WASHER

15

20U-46-34170

PLATE

Выбрано товаров: 16