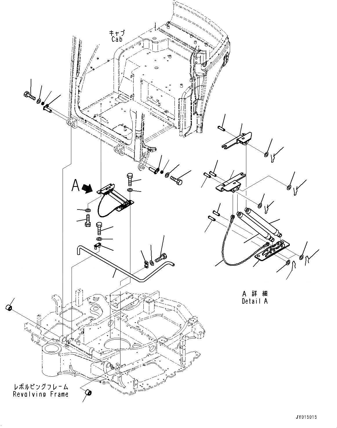
Запчасти Komatsu PC55MR-3 КРЕПЛЕНИЕ ПОЛАING, GAS SPRINGS КОМПОНЕНТЫ (№7-) КРЕПЛЕНИЕ ПОЛАING, ДЛЯ КАБИНЫ

Схема запчастей Komatsu PC55MR-3 - КРЕПЛЕНИЕ ПОЛАING, GAS SPRINGS КОМПОНЕНТЫ (№7-) КРЕПЛЕНИЕ ПОЛАING, ДЛЯ КАБИНЫ
13
16
15
10
11
9
8
11
10
14
15
16
12
17
18
6
7
8
11
10
19
28
29
30
24
25
26
27
22
23
21
20
1
1
4
5
3
2
2
3
5
4
FIT
1:1
100%

Артикул

Название

Примечание

Количество

1

22L-54-22231

Bushing

2

22L-54-22191

Pin

3

22J-70-11550

Collar

4

01010-81020

Bolt

5

01643-31032

Washer

6

22M-54-36410

Spring

7

22L-54-22390

Spring

8

04205-31032

Pin

9

04205-31042

Pin

10

04052-21038

Pin, Snap

11

01643-31032

Washer

12

22L-54-22280

Wire

13

04205-30830

Pin

14

22L-54-22250

Pin

15

01643-30823

Washer

16

04052-20833

Pin, Snap

17

22M-54-32213

Bracket

18

22M-54-32250

Bracket

19

22M-54-32260

Bracket

20

01010-81030

Bolt

21

01643-31032

Washer

22

01010-81025

Bolt

23

01643-31032

Washer

24

22M-54-31770

Torsion Bar

25

22L-54-22211

Clamp

26

01010-81035

Bolt

27

01643-31032

Washer

28

22M-54-36110

Clamp

29

01010-81055

Bolt

30

01643-31032

Washer

Выбрано товаров: 30