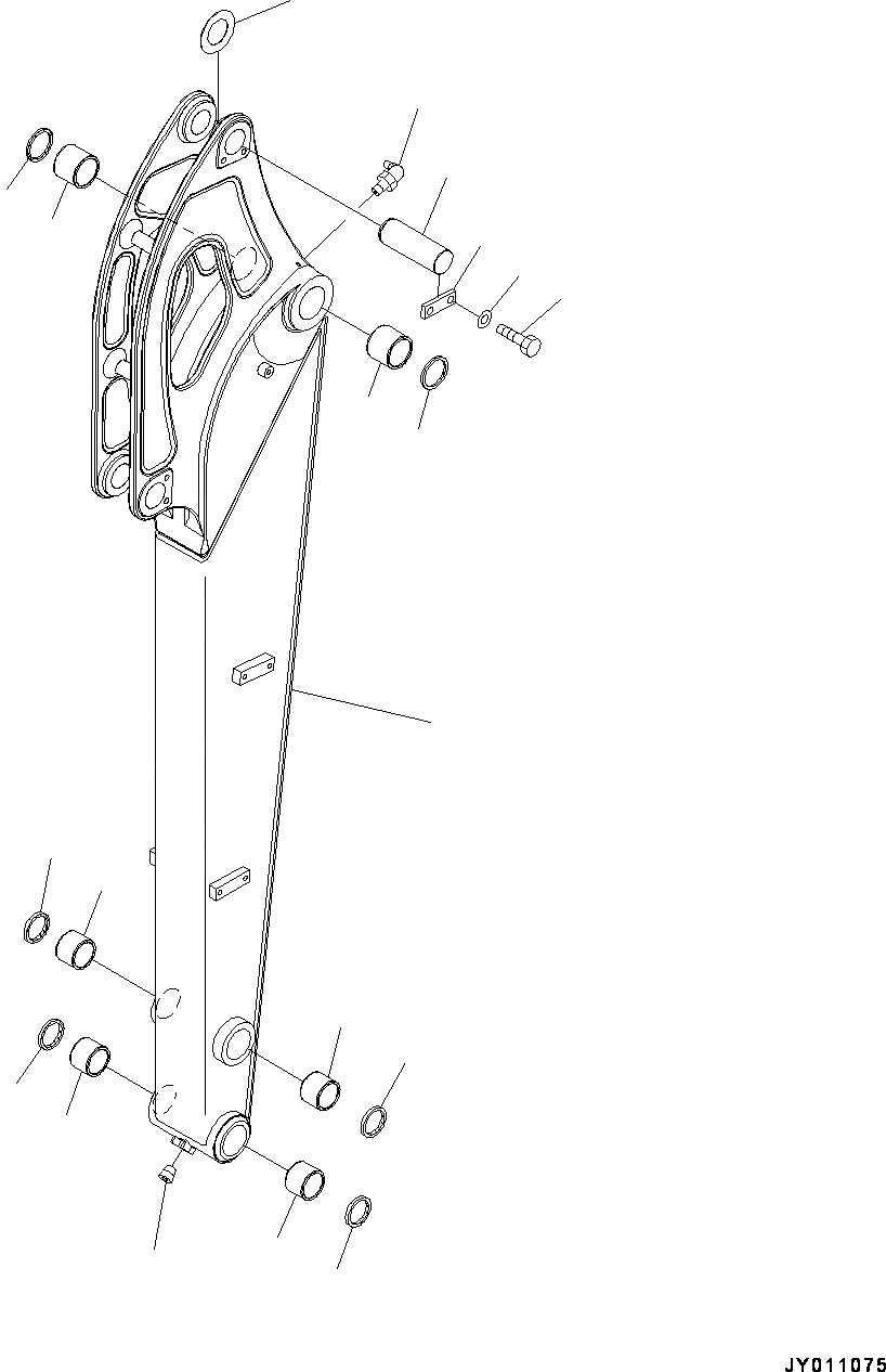
Запчасти Komatsu PC55MR-3 РУКОЯТЬ, РУКОЯТЬ И ПАЛЕЦ (№-9) РУКОЯТЬ, .M, С НАВЕСНОЕ ОБОРУД-Е

Схема запчастей Komatsu PC55MR-3 - РУКОЯТЬ, РУКОЯТЬ И ПАЛЕЦ (№-9) РУКОЯТЬ, .M, С НАВЕСНОЕ ОБОРУД-Е
10
11
9
4
12
6
4
3
3
8
1
7
5
2
5
2
5
5
2
2
FIT
1:1
100%

Артикул

Название

Примечание

Количество

|$0

22N-70-31231

Arm Assembly

1

Arm

2

22M-70-31260

Bushing

3

22M-70-31250

Bushing

4

07145-00050

Seal, Dust

5

20U-70-42530

Seal, Dust

6

07020-00675

Fitting, Grease

7

07043-70108

Plug

8

22M-943-2290

Pin

9

04082-00212

Lock

10

01010-81230

Bolt

11

01643-31232

Washer

12

20T-70-81710

Spacer, T=1.0mm

Выбрано товаров: 13