Запчасти Komatsu PC55MR-3 РУКОЯТЬ, НАВЕСН. ОБОРУД ТРУБЫ (/) (№-) РУКОЯТЬ, .M, УДЛИНН. РУКОЯТЬ, С НАВЕСНОЕ ОБОРУД-Е, ДЛЯ СТРАН ЕС

Схема запчастей Komatsu PC55MR-3 - РУКОЯТЬ, НАВЕСН. ОБОРУД ТРУБЫ (/) (№-) РУКОЯТЬ, .M, УДЛИНН. РУКОЯТЬ, С НАВЕСНОЕ ОБОРУД-Е, ДЛЯ СТРАН ЕС
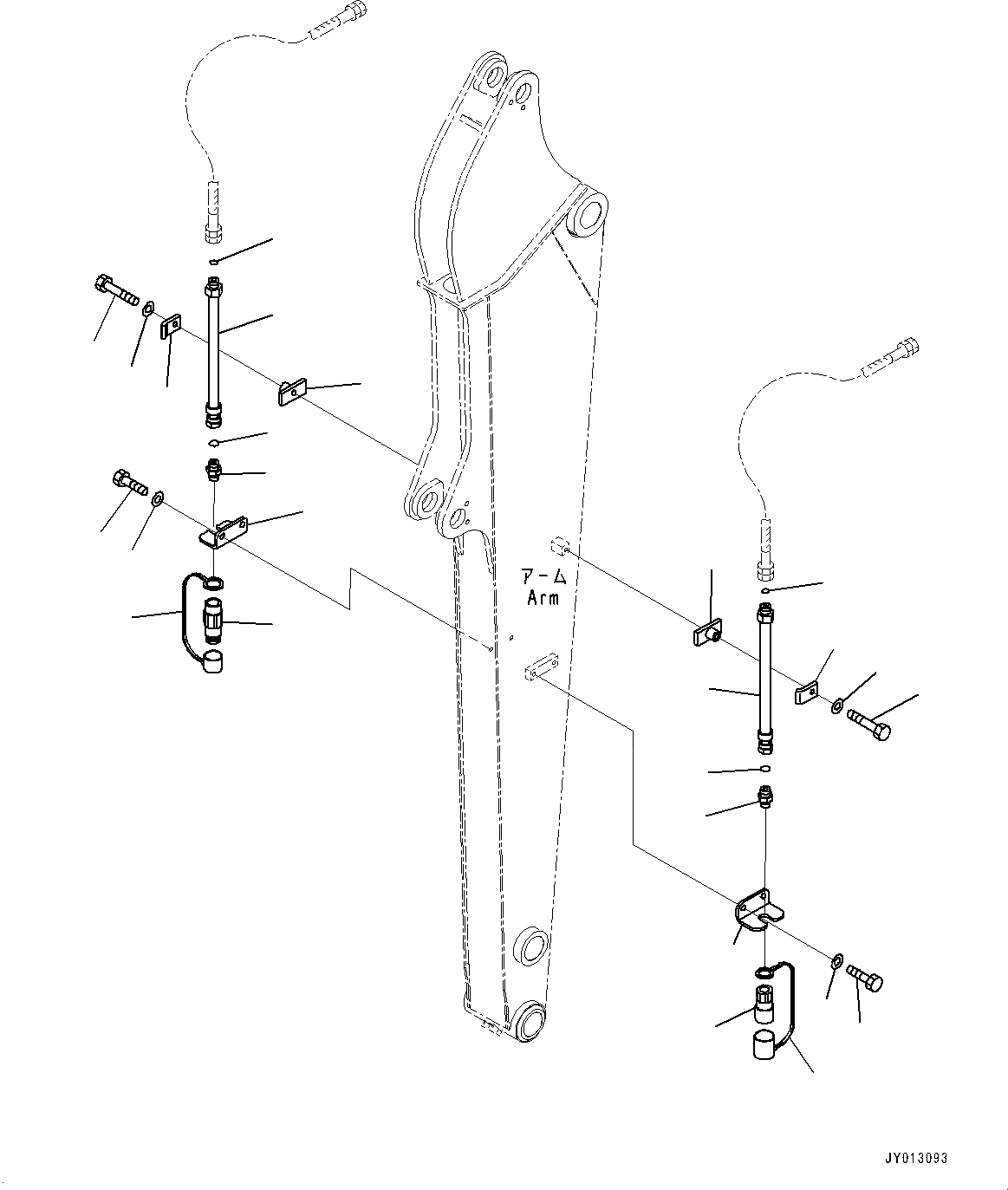
17
16
15
4
17
16
15
1
2
3
14
12
13
13
14
12
7
6
5
7
6
5
9
8
11
10
FIT
1:1
100%

Артикул

Название

Примечание

Количество

1

22F-973-2660

Union Assembly

2

02896-11012

O-ring

3

22F-973-2591

Union Assembly

4

02896-11012

O-ring

5

22M-70-22721

Bracket

6

01010-81025

Bolt

7

01643-31032

Washer

8

22L-973-2420

Coupling

9

22L-973-2430

Cap

10

22F-973-2410

Coupling

11

22F-973-2430

Cap

12

22M-973-2820

Tube

13

02896-11012

O-ring

14

20S-970-7652

Bracket

15

22M-973-2490

Clamp

16

01010-81055

Bolt

17

01643-31032

Washer

Выбрано товаров: 17