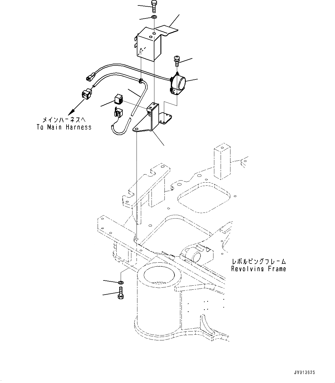
Запчасти Komatsu PC55MR-3 СИГНАЛ ХОДА (№-) СИГНАЛ ХОДА, КРОМЕ ЯПОН., С КОНДИЦИОНЕРОМ, АВТОМАТИЧ. DECELERATOR

Схема запчастей Komatsu PC55MR-3 - СИГНАЛ ХОДА (№-) СИГНАЛ ХОДА, КРОМЕ ЯПОН., С КОНДИЦИОНЕРОМ, АВТОМАТИЧ. DECELERATOR
2
1
9
10
8
6
3
5
4
7
FIT
1:1
100%

Артикул

Название

Примечание

Количество

1

01010-81020

Bolt

2

01643-31032

Washer

3

22M-06-31611

Bracket

4

22F-06-21610

Alarm

5

01023-10410

Screw

6

22M-06-31630

Wiring Harness

7

363-06-31130

Relay

8

22M-06-31621

Cover

9

01010-81025

Bolt

10

01643-31032

Washer

Выбрано товаров: 10