Запчасти Komatsu PC55MR-3 КАБИНА, ПОЛ, НИЖН. ЩИТКИ (№-) КАБИНА, С КАБИНОЙ ОБОГРЕВАТЕЛЬ., БЕЗ МАСТЕР КЛЮЧ

Схема запчастей Komatsu PC55MR-3 - КАБИНА, ПОЛ, НИЖН. ЩИТКИ (№-) КАБИНА, С КАБИНОЙ ОБОГРЕВАТЕЛЬ., БЕЗ МАСТЕР КЛЮЧ
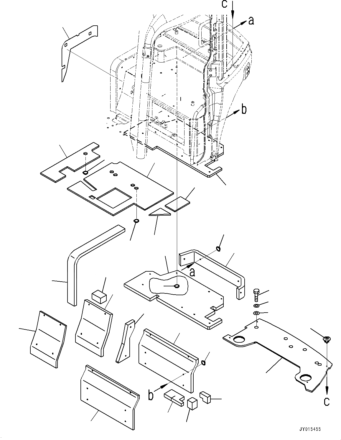
1
5
7
4
10
8
11
9
13
6
14
15
16
17
11
3
2
22
21
11
25
25
24
23
12
19
20
18
FIT
1:1
100%

Артикул

Название

Примечание

Количество

1

22M-54-34410

Sheet

2

22M-54-34420

Sheet

3

22M-54-34430

Sheet

4

22M-54-33420

Sheet

5

22M-54-37180

Sheet

6

22M-54-33430

Sheet

7

22M-54-37191

Sheet

8

22F-54-35670

Sheet

9

22M-54-34860

Sheet

10

22F-54-33540

Sheet

11

22F-54-11380

Washer

12

22F-54-33551

Sheet

13

22F-54-35480

Sheet

14

22M-54-34570

Sheet

15

22M-54-34580

Sheet

16

22F-54-35552

Cover

17

22B-54-16461

Rivet

18

22M-54-24630

Washer

19

01010-D0816

Bolt

20

01643-70823

Washer

21

22M-54-33511

Sheet

22

22M-54-33522

Sheet

23

22M-54-33580

Sheet

24

22M-54-33590

Sheet

25

22F-54-11380

Washer

Выбрано товаров: 25