Качественные детали и логистика
Оригинальные и аналоговые запчасти с доставкой по России, Казахстану и Беларуси
©2022 PartSell ООО "Система" ИНН 2463123282 ОГРН 1212400004838
Центральный офис: г. Красноярск, Академика Киренского, д.87, пом.4
Телефон: 8 (800) 777-65-74 Email: zakaz@partsell.ru
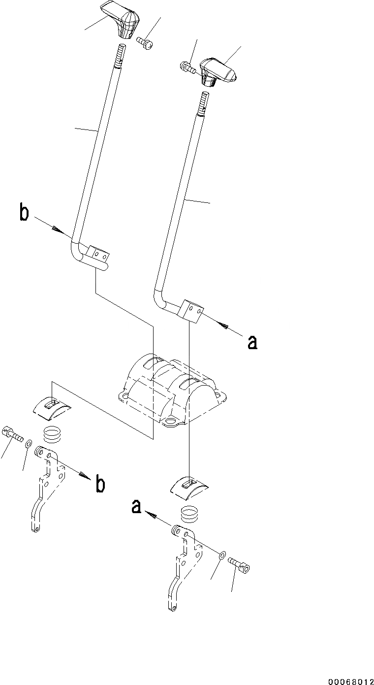
ОСНОВН. КОНСТРУКЦИЯ, ПОЛ, РЫЧАГ УПРАВЛ-Я ХОДОМ (№-)
№
Артикул
Название
Примечание
Количество
1
22J-43-26250
Lever
2
22J-43-26260
3
01252-81025
Bolt
4
01643-71032
Washer
5
20Y-43-21231
Knob
6
20Y-43-21241
7
01023-20416
Screw
Выбрано товаров: 0