Запчасти Komatsu PC55MR-3 СИСТЕМА ОХЛАЖДЕНИЯ, КРЫШКА(№-) СИСТЕМА ОХЛАЖДЕНИЯ

Схема запчастей Komatsu PC55MR-3 - СИСТЕМА ОХЛАЖДЕНИЯ, КРЫШКА(№-) СИСТЕМА ОХЛАЖДЕНИЯ
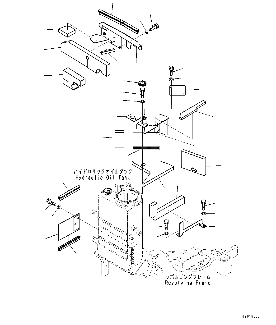
1
2
3
4
5
10
11
12
13
14
15
16
14
6
18
17
22
21
9
8
7
20
19
28
27
23
24
25
26
30
29
FIT
1:1
100%

Артикул

Название

Примечание

Количество

|$0

22M-03-31802

Plate Assembly

1

22M-03-31812

Plate

2

22M-03-21820

Sheet

3

22M-03-31830

Seal

4

22M-03-21840

Sheet

5

22M-03-21850

Seal

6

22M-03-31940

Sheet

7

22M-03-31840

Plate

8

01010-80820

Bolt

9

01643-30823

Washer

10

01010-81020

Bolt

11

01643-31032

Washer

12

23S-06-14350

Grommet

12

22M-03-31901

Plate Assembly

13

22M-03-31911

Plate

14

22M-03-21920

Seal

15

01010-81220

Bolt

16

01643-31232

Washer

16

22M-03-31172

Bracket Assembly

17

22M-03-31192

Sheet

18

22M-03-31182

Bracket

19

01010-81020

Bolt

20

01643-31032

Washer

21

01010-81035

Bolt

22

01643-31032

Washer

22

22M-03-31231

Bracket Assembly

23

22M-03-31261

Sheet

24

22M-03-21550

Seal

25

22M-03-31270

Sheet

26

22M-03-31660

Bracket

27

22M-03-21791

Seal

28

22M-03-21880

Sheet

29

01010-81020

Bolt

30

01643-31032

Washer

Выбрано товаров: 34