Запчасти Komatsu PC55MR-3 АКТУАТОР ТРУБЫ, НАВЕСН. ОБОРУД ТРУБЫ (№-) АКТУАТОР ТРУБЫ, ДЛЯ АВСТРАЛИИ И НОВ. ZEALAND, PROVISION ДЛЯ -ДОПОЛН. АКТУАТОР ТРУБЫ, ВЫСОК. ЕМК.

Схема запчастей Komatsu PC55MR-3 - АКТУАТОР ТРУБЫ, НАВЕСН. ОБОРУД ТРУБЫ (№-) АКТУАТОР ТРУБЫ, ДЛЯ АВСТРАЛИИ И НОВ. ZEALAND, PROVISION ДЛЯ -ДОПОЛН. АКТУАТОР ТРУБЫ, ВЫСОК. ЕМК.
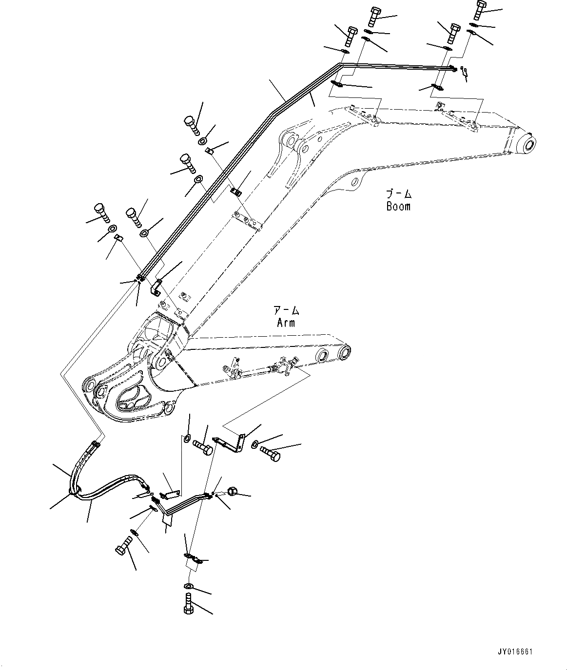
1
2
3
5
6
7
8
9
10
11
11
10
9
11
10
9
9
10
11
3
2
1
2
3
1
7
4
8
8
26
25
24
23
22
20
19
18
17
16
15
14
13
12
24
19
21
22
23
19
21
FIT
1:1
100%

Артикул

Название

Примечание

Количество

1

22L-62-33520

Clamp

2

01010-81030

Bolt

3

01643-31032

Washer

4

22N-62-33520

Plate

5

01010-81030

Bolt

6

01643-31032

Washer

7

22N-62-33510

Tube

8

02896-11008

O-ring

9

20M-62-33260

Clamp

10

01010-80820

Bolt

11

01643-30823

Washer

12

22N-62-33551

Bracket

13

01010-81060

Bolt

14

01643-31032

Washer

15

22N-62-33561

Bracket

16

01010-81070

Bolt

17

01643-31032

Washer

18

22N-62-33540

Tube

19

02896-11008

O-ring

20

20M-62-33260

Clamp

21

22F-62-37240

Clamp

22

01010-80820

Bolt

23

01643-30823

Washer

24

02765-20210

Hose, Face Seal Type

25

08034-40521

Band

26

02789-10210

Plug

Выбрано товаров: 26