Запчасти Komatsu PC55MR-3 ОСНОВН. КОНСТРУКЦИЯ, ПОЛ, РЫЧАГ УПРАВЛ-Я ХОДОМ (№-) ОСНОВН. КОНСТРУКЦИЯ, С МАСТЕР КЛЮЧ, ДЛЯ АВСТРАЛИИ И НОВ. ZEALAND, PROVISION ДЛЯ -ДОПОЛН. АКТУАТОР ТРУБЫ, ВЫСОК. ЕМК.

Схема запчастей Komatsu PC55MR-3 - ОСНОВН. КОНСТРУКЦИЯ, ПОЛ, РЫЧАГ УПРАВЛ-Я ХОДОМ (№-) ОСНОВН. КОНСТРУКЦИЯ, С МАСТЕР КЛЮЧ, ДЛЯ АВСТРАЛИИ И НОВ. ZEALAND, PROVISION ДЛЯ -ДОПОЛН. АКТУАТОР ТРУБЫ, ВЫСОК. ЕМК.
1
2
3
4
5
6
7
7
3
4
FIT
1:1
100%

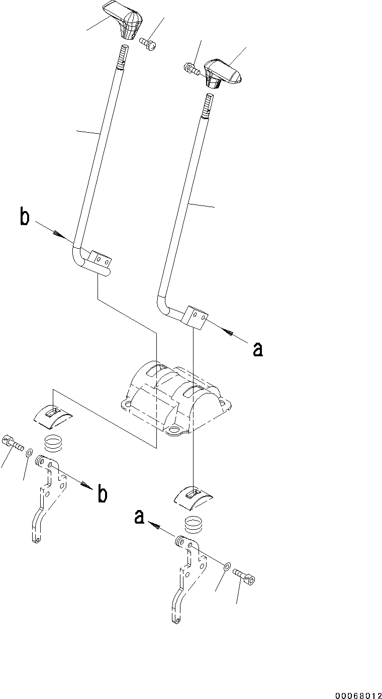
Артикул

Название

Примечание

Количество

1

22J-43-26250

Lever

2

22J-43-26260

Lever

3

01252-81025

Bolt

4

01643-71032

Washer

5

20Y-43-21231

Knob

6

20Y-43-21241

Knob

7

01023-20416

Screw

Выбрано товаров: 7