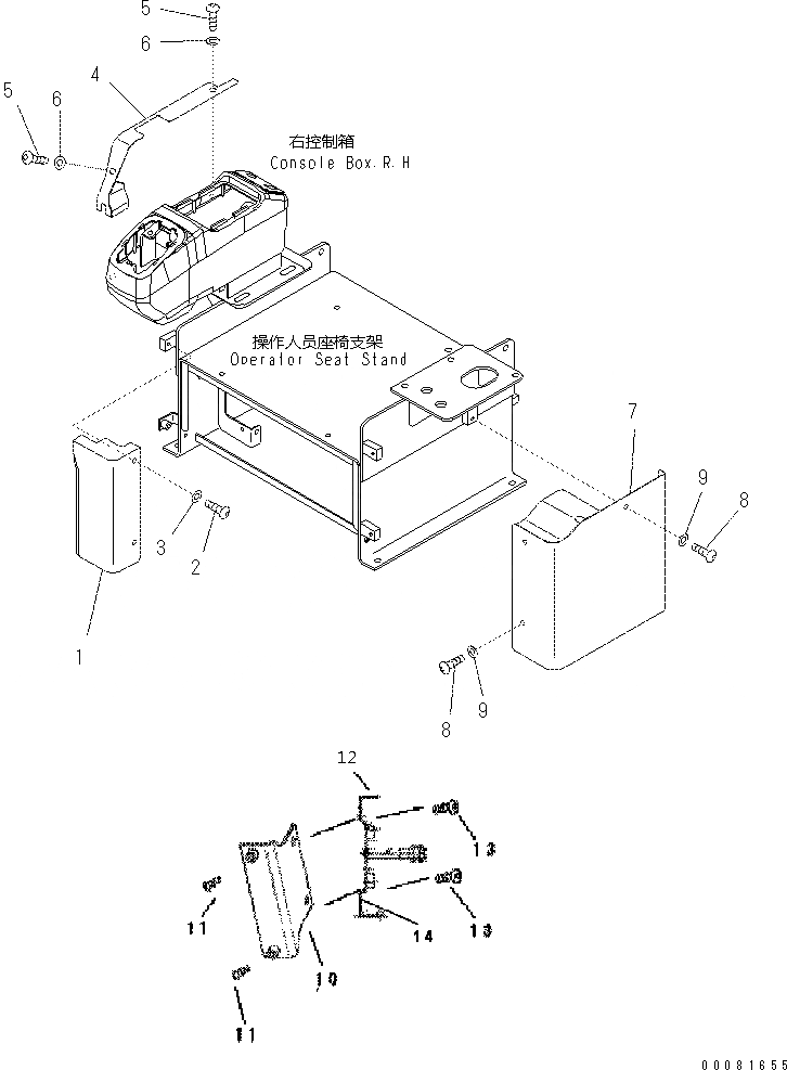
Запчасти Komatsu PC57-7 ПОКРЫТИЕ ПОЛА(ОГНЕТУШИТЕЛЬ) K [КАБИНА ОПЕРАТОРА И СИСТЕМА УПРАВЛЕНИЯ]

Схема запчастей Komatsu PC57-7 - ПОКРЫТИЕ ПОЛА(ОГНЕТУШИТЕЛЬ) K [КАБИНА ОПЕРАТОРА И СИСТЕМА УПРАВЛЕНИЯ]
FIT
1:1
100%

Артикул

Название

Примечание

Количество

1

22H-54-13410

COVER

2

01245-00816

SCREW

3

01643-70823

WASHER

4

22H-54-13250

COVER

5

01245-01016

SCREW

6

01643-71032

WASHER

7

22H-54-13231

COVER

8

01245-00816

SCREW

9

01643-70823

WASHER

10

22H-54-13420

BRACKET

11

01024-D1020

BOLT

12

20Y-54-D2220

BRACKET

13

01023-20820

SCREW

14

20Y-54-D2240

PLATE

Выбрано товаров: 14