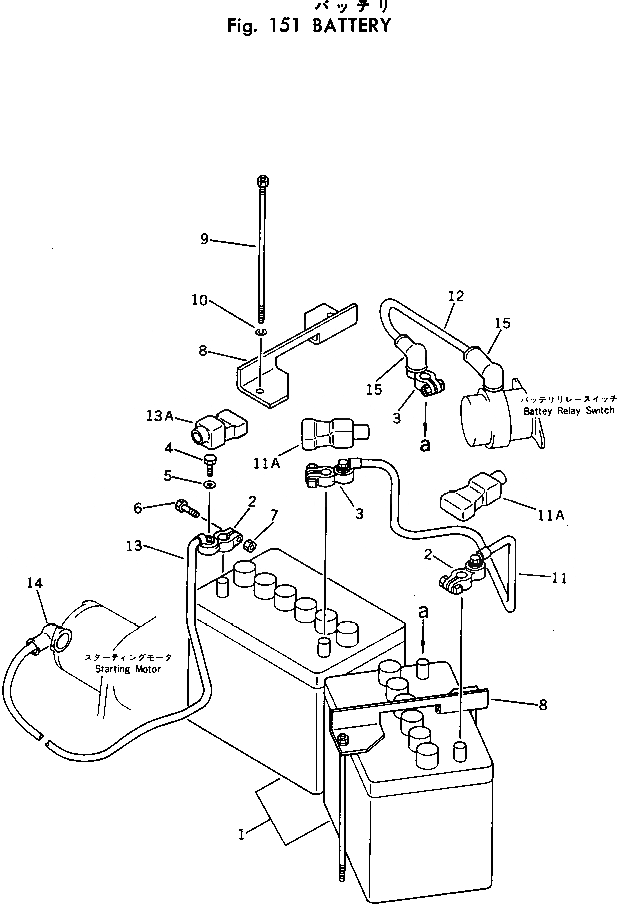
Запчасти Komatsu PC60-2 АККУМУЛЯТОР КОМПОНЕНТЫ ДВИГАТЕЛЯ И ЭЛЕКТРИКА

Схема запчастей Komatsu PC60-2 - АККУМУЛЯТОР КОМПОНЕНТЫ ДВИГАТЕЛЯ И ЭЛЕКТРИКА
FIT
1:1
100%

Артикул

Название

Примечание

Количество

1

08000-32207

BATTERY (65D26R)

2

08000-00000

TERMINAL¤ (+)

3

08000-00001

TERMINAL¤ (-)

4

01050-31018

BOLT

5

01640-21016

WASHER

6

01010-30830

BOLT

7

01580-00806

NUT

8

201-06-31210

BRACKET

9

20B-06-21120

ROD

10

01602-00825

WASHER,SPRING

11

201-06-31150

WIRE

|11

08028-12065

CABLE,(PC60D)

11A

08038-22009

CAP

12

08028-12045

CABLE

13

201-06-31120

WIRE

13A

201-06-21320

CAP,TERMINAL

14

08038-06031

CAP

15

08038-04030

CAP

Выбрано товаров: 18