Запчасти Komatsu PC60-2 ЭЛЕКТРИКА (PC) (PCSS) КОМПОНЕНТЫ ДВИГАТЕЛЯ И ЭЛЕКТРИКА

Схема запчастей Komatsu PC60-2 - ЭЛЕКТРИКА (PC) (PCSS) КОМПОНЕНТЫ ДВИГАТЕЛЯ И ЭЛЕКТРИКА
FIT
1:1
100%

Артикул

Название

Примечание

Количество

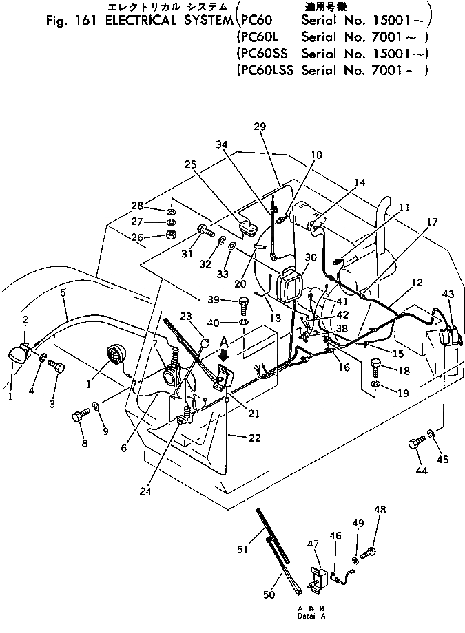
1

08125-02400

LAMP ASS'Y

|1

08107-02460

BULB¤ 60W

|1

08125-00006

LENS

2

201-06-21110

BRACKET

3

01010-31225

BOLT

4

01602-01236

WASHER,SPRING

5

201-06-21140

WIRE

6

201-06-21130

WIRE

7

175-06-39170

HORN

8

01010-30820

BOLT

9

01602-00825

WASHER,SPRING

10

08620-00000

SENSOR

11

08073-00505

SWITCH

12

201-06-31110

WIRE ASS'Y

13

201-06-21150

WIRE

14

08038-00519

CAP,RUBBER

15

08036-11214

CLIP

16

08036-01814

CLIP

17

08036-11210

CLIP

18

01010-31016

BOLT

19

01602-01030

WASHER,SPRING

20

201-06-21310

CLIP

21

201-06-21210

WIRE ASS'Y

22

201-06-21191

WIRE ASS'Y

23

20S-43-62560

SWITCH,HORN

24

08037-01008

GROMMET

25

08142-22400

LAMP,ROOM

|25

08110-12410

BULB¤ 12W

26

01580-00605

NUT

27

01602-00619

WASHER,SPRING

28

01643-30823

WASHER

29

201-06-21240

WIRE

30

201-06-21410

SPEAKER

31

01010-30612

BOLT

32

01602-00619

WASHER,SPRING

33

01640-20610

WASHER

34

201-06-21420

ANTENNA

38

600-815-2170

SWITCH¤ HEATER,HEATER

39

01010-30610

BOLT

40

01602-00619

WASHER,SPRING

41

201-06-21460

WIRE

42

201-06-21470

WIRE

43

08088-10000

SWITCH,BATTERY RELAY

44

01010-30820

BOLT

45

01602-00825

WASHER,SPRING

46

201-06-21440

CONDENSER

47

08180-02410

WIPER MOTOR ASS'Y

48

01010-50612

BOLT

49

01602-20619

WASHER

50

08184-20400

ARM,WIPER

51

08185-00400

BLADE,WIPER

Выбрано товаров: 51