Запчасти Komatsu PC60-2 MACHINERY ОБСТАНОВКА (/) (PCSS) ОСНОВНАЯ РАМА И КАБИНА

Схема запчастей Komatsu PC60-2 - MACHINERY ОБСТАНОВКА (/) (PCSS) ОСНОВНАЯ РАМА И КАБИНА
FIT
1:1
100%

Артикул

Название

Примечание

Количество

|1

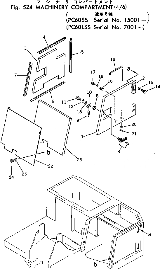
201-54-35500

COVER ASS'Y

1

COVER

2

203-54-32150

HINGE

3

201-54-35520

SHEET

4

201-54-35530

SEAL

5

201-54-35540

SEAL

6

201-54-35550

SEAL

7

201-54-35560

SEAL

8

21T-54-12310

HANDLE

9

135-43-14520

SPRING

10

201-54-31290

PLATE

11

01010-50820

BOLT

12

01602-20825

WASHER

13

01643-30823

WASHER

14

01010-51025

BOLT

15

01643-31032

WASHER

16

201-54-21380

SPRING

17

01220-40406

SCREW

18

01601-20410

WASHER

19

203-54-21380

BAR

20

01641-21016

WASHER

21

04050-13018

PIN

22

201-54-35730

COVER

23

201-54-35740

SHEET

24

01580-11008

NUT

25

01643-31032

WASHER

Выбрано товаров: 26