Запчасти Komatsu PC60-2 MACHINERY ОБСТАНОВКА (/) (PCSS) ОСНОВНАЯ РАМА И КАБИНА

Схема запчастей Komatsu PC60-2 - MACHINERY ОБСТАНОВКА (/) (PCSS) ОСНОВНАЯ РАМА И КАБИНА
FIT
1:1
100%

Артикул

Название

Примечание

Количество

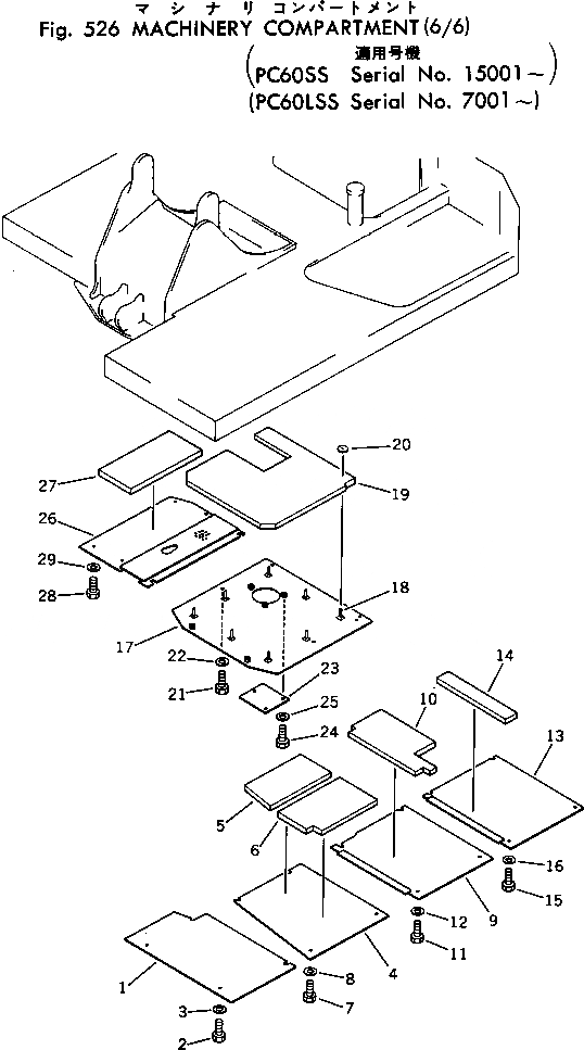
1

201-54-36210

COVER

2

01010-51025

BOLT

3

01643-31032

WASHER

4

201-54-36220

COVER

5

201-54-36230

SHEET

6

201-54-36240

SHEET

7

01010-51025

BOLT

8

01643-31032

WASHER

9

201-54-36250

COVER

10

201-54-36260

SHEET

11

01010-51025

BOLT

12

01643-31032

WASHER

13

201-54-36270

COVER

14

201-54-36280

SHEET

15

01010-51025

BOLT

16

01643-31032

WASHER

|17

201-54-36300

COVER ASS'Y

17

COVER

18

04431-20000

CLIP

19

201-54-36320

SHEET

20

04431-30000

PLATE

21

01010-51025

BOLT

22

01643-31032

WASHER

23

201-54-26420

PLATE

24

01010-51025

BOLT

25

01643-31032

WASHER

26

201-54-36330

COVER

27

201-54-36340

SHEET

28

01010-51025

BOLT

29

01643-31032

WASHER

Выбрано товаров: 30