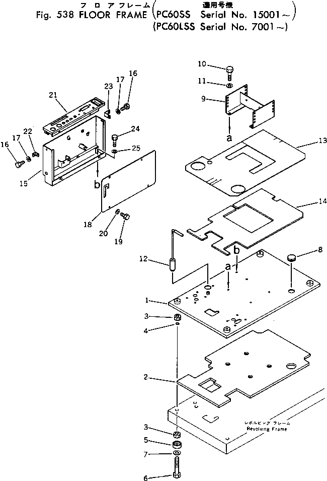
Запчасти Komatsu PC60-2 ОСНОВН. КОНСТРУКЦИЯ (PCSS) ОСНОВНАЯ РАМА И КАБИНА

Схема запчастей Komatsu PC60-2 - ОСНОВН. КОНСТРУКЦИЯ (PCSS) ОСНОВНАЯ РАМА И КАБИНА
FIT
1:1
100%

Артикул

Название

Примечание

Количество

|1

201-54-36110

FLOOR FRAME ASS'Y

1

FRAME,FLOOR

2

201-54-36120

SHEET

3

203-54-21110

CUSHION

4

07000-03025

O-RING

5

201-54-21860

COLLAR

6

01010-51670

BOLT

7

01643-31645

WASHER

8

09415-05016

CAP

9

203-54-31490

BRACKET

10

01010-51230

BOLT

11

01643-31232

WASHER

12

201-54-31510

PIN

13

201-54-36130

SHEET

14

201-54-36140

SHEET

15

201-54-31230

BRACKET

16

01010-51016

BOLT

17

01643-31032

WASHER

18

201-54-21822

COVER

19

01010-50816

BOLT

20

01602-20825

WASHER

21

201-54-21842

PANEL

22

201-54-32150

PLATE

23

201-54-32140

PLATE

24

01010-50820

BOLT

25

01643-30823

WASHER

Выбрано товаров: 26