Запчасти Komatsu PC60-2 ГИДРОЛИНИЯ (ИЗ БАКА В НАСОС) (PC) ГИДРАВЛИКА

Схема запчастей Komatsu PC60-2 - ГИДРОЛИНИЯ (ИЗ БАКА В НАСОС) (PC) ГИДРАВЛИКА
FIT
1:1
100%

Артикул

Название

Примечание

Количество

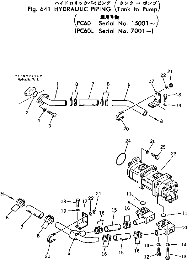
1

201-62-31110

PIPE

2

07000-02060

O-RING

3

01010-31235

BOLT

4

01602-01236

WASHER,SPRING

5

201-62-31780

PIPE

6

201-62-31131

PIPE

7

07260-04716

HOSE

8

07281-00709

CLAMP

9

201-62-31150

PIPE

10

201-62-31160

PIPE

11

07000-03048

O-RING

12

01010-31235

BOLT

13

01010-31265

BOLT

14

01602-01236

WASHER,SPRING

15

07260-04116

HOSE

16

07281-00609

CLAMP

17

201-62-31121

BRACKET

18

01010-31025

BOLT

19

01602-01030

WASHER,SPRING

20

07283-24949

CLIP

21

01599-01011

NUT

22

01643-31032

WASHER

23

705-58-24010

HYDRAULIC PUMP ASS'Y

24

07000-02105

O-RING

25

01010-51235

BOLT

26

01643-31232

WASHER

Выбрано товаров: 26