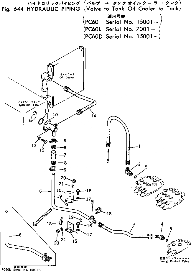
Запчасти Komatsu PC60-2 ГИДРОЛИНИЯ (КЛАПАН - МАСЛООХЛАДИТЕЛЬ - БАК) (PC)(PCD) ГИДРАВЛИКА

Схема запчастей Komatsu PC60-2 - ГИДРОЛИНИЯ (КЛАПАН - МАСЛООХЛАДИТЕЛЬ - БАК) (PC)(PCD) ГИДРАВЛИКА
FIT
1:1
100%

Артикул

Название

Примечание

Количество

1

07103-20609

HOSE

|1

07103-50609

HOSE,(PC60D)

2

201-62-38450

ELBOW

3

07102-20605

HOSE

|3

07102-20606

HOSE,(PC60D)

4

201-62-38460

ELBOW

5

07002-02434

O-RING

6

201-62-31210

PIPE

|6

201-62-37120

PIPE,(PC60D)

7

07332-00600

COUPLING ASS'Y

8

07332-50600

GASKET

9

07332-60600

CLAMP

10

201-62-31660

PIPE

11

07000-02060

O-RING

12

01010-51235

BOLT

13

01602-21236

WASHER,SPRING

14

07102-20605

HOSE

15

201-62-31180

BRACKET

16

01010-51025

BOLT

17

01602-21030

WASHER,SPRING

18

07283-22738

CLIP

19

07283-52737

SEAT

20

01599-01011

NUT

21

01643-31032

WASHER

Выбрано товаров: 24