Запчасти Komatsu PC60-3 ОСНОВНАЯ РАМА ОСНОВНАЯ РАМА И КАБИНА

Схема запчастей Komatsu PC60-3 - ОСНОВНАЯ РАМА ОСНОВНАЯ РАМА И КАБИНА
1
1
2
2
3
3
4
4
5
5
FIT
1:1
100%

Артикул

Название

Примечание

Количество

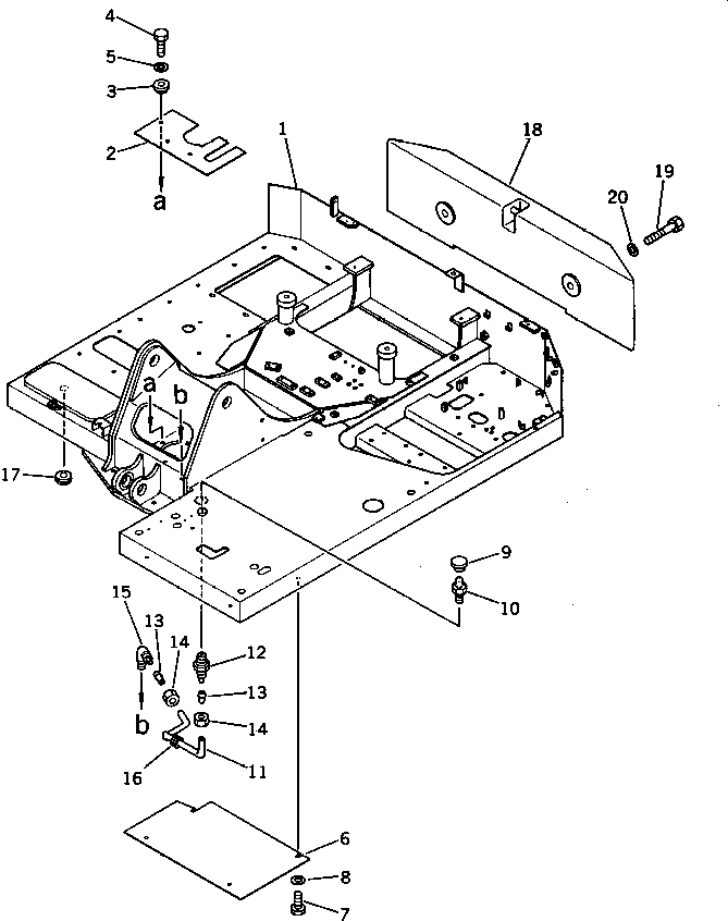
1

201-46-41100

FRAME ASS'Y

2

201-46-23210

COVER

3

201-46-23220

COLLAR

4

01010-50820

BOLT

5

01643-30823

WASHER

6

201-54-36210

COVER

7

01010-51025

BOLT

8

01643-31032

WASHER

9

20X-46-11170

CAP

10

07020-00000

FITTING

11

201-46-23111

TUBE

12

20R-46-11160

CONNECTOR

13

07831-00411

SLEEVE

14

07832-00410

NUT

15

20R-46-11150

ELBOW

16

113-899-6960

GROMMET

17

09415-02512

CAP

18

201-46-42110

WEIGHT

19

01011-83020

BOLT

20

01643-33080

WASHER

Выбрано товаров: 20