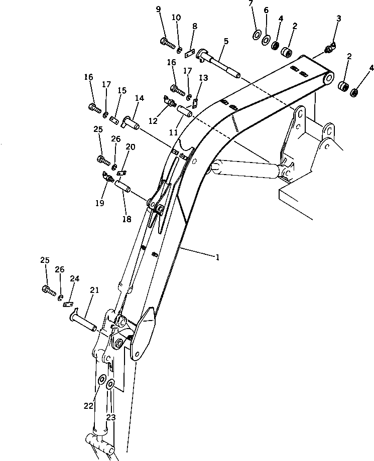
Запчасти Komatsu PC60-3 СТРЕЛА РАБОЧЕЕ ОБОРУДОВАНИЕ

Схема запчастей Komatsu PC60-3 - СТРЕЛА РАБОЧЕЕ ОБОРУДОВАНИЕ
1
2
3
4
5
6
7
8
9
10
11
12
13
14
15
16
17
18
19
20
21
22
23
24
25
26
27
28
29
30
31
32
33
33
34
35
36
37
38
38
39
40
41
42
FIT
1:1
100%

Артикул

Название

Примечание

Количество

|1

201-70-00310

BOOM ASS'Y

1

BOOM

2

201-70-21181

BUSHING

3

07020-00675

FITTING

4

07145-00060

SEAL

5

201-70-21130

PIN

6

201-70-21290

SPACER¤ 1.0MM

7

20B-46-21180

PLATE¤ 1.0MM

8

201-70-21210

PLATE

9

01010-31230

BOLT

10

01602-01236

WASHER

11

201-70-21140

PIN

12

07020-00675

FITTING

13

04082-00212

LOCK

14

201-70-41130

PIN

15

201-70-21210

PLATE

16

01010-31230

BOLT

17

01602-01236

WASHER

18

201-70-21160

PIN

19

07020-00675

FITTING

20

04082-00212

LOCK

21

201-70-41120

PIN

22

201-70-21290

SPACER¤ 1.0MM

23

20B-46-21180

PLATE¤ 1.0MM

24

201-70-21210

PLATE

25

01010-31230

BOLT

26

01602-01236

WASHER

Выбрано товаров: 27