Запчасти Komatsu PC60-3 EJECTOR КОВШ РАБОЧЕЕ ОБОРУДОВАНИЕ

Схема запчастей Komatsu PC60-3 - EJECTOR КОВШ РАБОЧЕЕ ОБОРУДОВАНИЕ
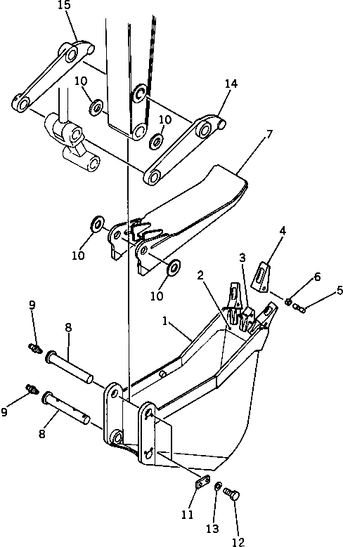
1
2
2
3
4
5
5
6
6
7
7
8
8
9
9
9
10
10
11
11
12
12
13
13
14
14
15
15
16
16
17
18
18
19
20
21
22
23
FIT
1:1
100%

Артикул

Название

Примечание

Количество

|1

201-927-0010

BUCKET ASS'Y

1

201-927-2110

BUCKET

2

201-926-2620

LIP (WELDED)

3

201-70-24130

ADAPTER (WELDED)

4

201-70-24140

TOOTH

|5

201-70-00150

PIN ASS'Y

5

PIN

6

SPRING

7

201-926-2630

EJECTOR

8

201-926-2140

PIN

9

07020-00000

FITTING

10

201-926-2190

SPACER

11

04082-00212

LOCK

12

01010-31225

BOLT

13

01602-01236

WASHER

14

201-926-2640

LINK

15

201-926-2650

LINK

Выбрано товаров: 17