Запчасти Komatsu PC60-3 ЭЛЕКТРИКА (/) КОМПОНЕНТЫ ДВИГАТЕЛЯ И ЭЛЕКТРИКА

Схема запчастей Komatsu PC60-3 - ЭЛЕКТРИКА (/) КОМПОНЕНТЫ ДВИГАТЕЛЯ И ЭЛЕКТРИКА
FIT
1:1
100%

Артикул

Название

Примечание

Количество

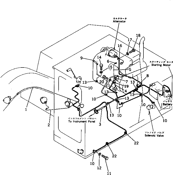
1

201-06-21140

WIRE

2

201-06-21130

WIRE

3

201-06-41321

WIRE ASS'Y

4

201-06-21470

WIRE

5

201-06-21460

WIRE

6

08038-00519

CAP

7

08038-02027

CAP

8

201-06-21150

WIRE

9

201-06-21310

CLIP

10

08036-01814

CLIP

11

01010-51016

BOLT

12

01602-21030

WASHER

13

08035-01510

CLIP

14

01010-51016

BOLT

15

01602-21030

WASHER

16

08036-11210

CLIP

17

01010-51016

BOLT

18

01602-21030

WASHER

19

08035-01508

CLIP

20

01010-51016

BOLT

21

01602-21030

WASHER

22

08037-03614

GROMMET

Выбрано товаров: 22