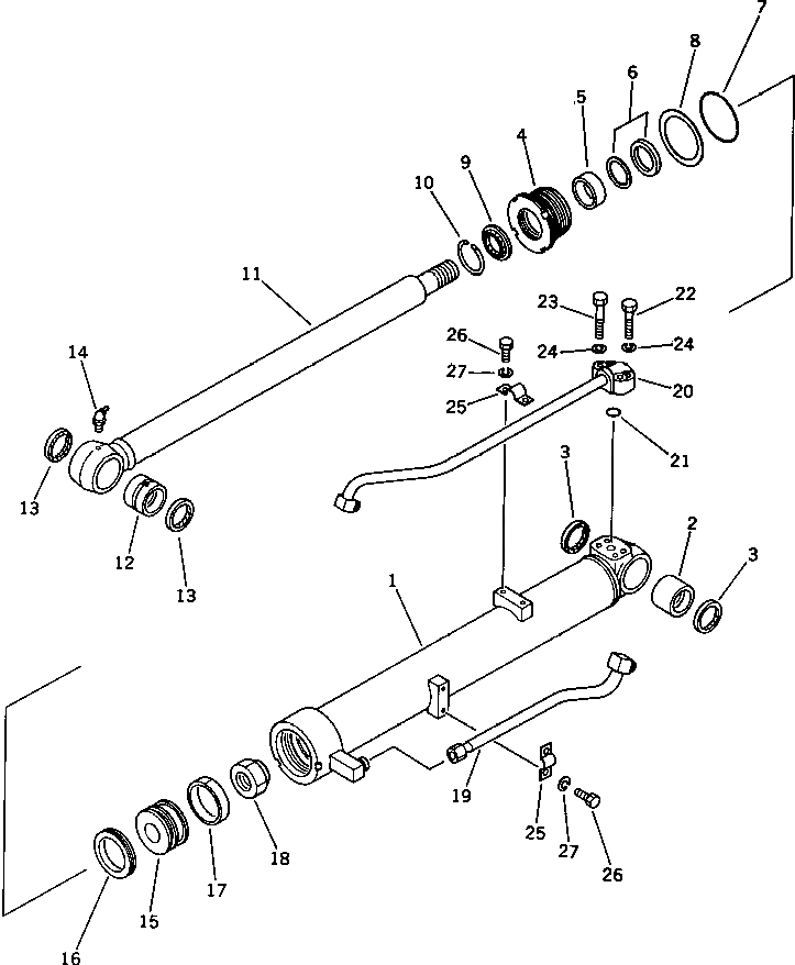
Запчасти Komatsu PC60-3 ЦИЛИНДР СТРЕЛЫ УПРАВЛ-Е РАБОЧИМ ОБОРУДОВАНИЕМ

Схема запчастей Komatsu PC60-3 - ЦИЛИНДР СТРЕЛЫ УПРАВЛ-Е РАБОЧИМ ОБОРУДОВАНИЕМ
FIT
1:1
100%

Артикул

Название

Примечание

Количество

|$0

201-63-56100

BOOM CYLINDER ASS'Y

1

201-63-56140

CYLINDER

2

07143-10606

BUSHING

3

07145-00060

SEAL

4

707-29-11490

HEAD

5

07177-06530

BUSHING

6

707-51-65211

PACKING

7

07000-12115

O-RING

8

20D-63-32290

RING

9

144-63-92170

SEAL

10

07179-00088

RING

11

201-63-56120

ROD

12

07144-10606

BUSHING

13

07145-00060

SEAL

14

07020-00675

FITTING

15

707-36-11580

PISTON

16

707-44-11080

RING

17

07155-01125

RING

18

07165-14547

NUT

19

201-63-56180

TUBE

20

201-63-56190

TUBE

21

07000-13025

O-RING

22

01010-50840

BOLT

23

01010-50850

BOLT

24

01602-20825

WASHER

25

07282-02288

CLAMP

26

01010-51020

BOLT

27

01602-21030

WASHER

Выбрано товаров: 28