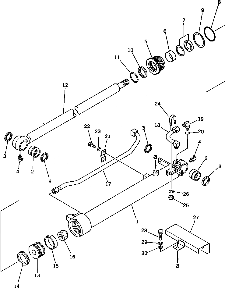
Запчасти Komatsu PC60-3 ЦИЛИНДР КОВША УПРАВЛ-Е РАБОЧИМ ОБОРУДОВАНИЕМ

Схема запчастей Komatsu PC60-3 - ЦИЛИНДР КОВША УПРАВЛ-Е РАБОЧИМ ОБОРУДОВАНИЕМ
FIT
1:1
100%

Артикул

Название

Примечание

Количество

|$0

201-63-76100

BUCKET CYLINDER A.

1

201-63-76140

CYLINDER

2

07144-10506

BUSHING

3

07145-00055

SEAL

4

07020-00090

FITTING

5

707-29-10391

HEAD

6

07177-06030

BUSHING

7

707-51-60211

PACKING

8

07000-12105

O-RING

9

101-63-81230

RING

10

141-63-93270

SEAL

11

07179-00082

RING

12

201-63-76120

ROD

13

707-36-10280

PISTON

14

707-44-10080

RING

15

07155-01025

RING

16

07165-14547

NUT

17

201-63-76180

TUBE

18

201-63-76190

TUBE

19

07235-10522

ELBOW

20

07002-12434

O-RING

21

201-63-26391

CLIP

22

01010-51020

BOLT

23

01602-21030

WASHER

24

07283-12236

CLIP

25

01599-01011

NUT

26

01643-31032

WASHER

27

201-63-26591

GUARD

28

01010-51025

BOLT

29

01602-21030

WASHER

30

01640-21016

WASHER

Выбрано товаров: 31