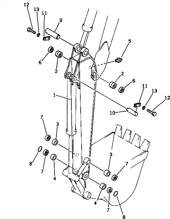
Запчасти Komatsu PC60-3 РУКОЯТЬ РАБОЧЕЕ ОБОРУДОВАНИЕ

Схема запчастей Komatsu PC60-3 - РУКОЯТЬ РАБОЧЕЕ ОБОРУДОВАНИЕ
FIT
1:1
100%

Артикул

Название

Примечание

Количество

1

201-70-00320

ARM ASS'Y

1

ARM

2

20X-70-12120

BUSHING

3

201-70-22141

BUSHING

4

201-70-42130

BUSHING

5

07020-00000

FITTING

6

07145-00060

SEAL

7

130-09-12931

SEAL

8

175-30-16210

O-RING

9

20X-70-12130

PIN

10

201-70-42120

PIN

11

04082-00212

LOCK

12

01010-31230

BOLT

13

01602-01236

WASHER

Выбрано товаров: 14