Запчасти Komatsu PC60-3 АККУМУЛЯТОР КОМПОНЕНТЫ ДВИГАТЕЛЯ И ЭЛЕКТРИКА

Схема запчастей Komatsu PC60-3 - АККУМУЛЯТОР КОМПОНЕНТЫ ДВИГАТЕЛЯ И ЭЛЕКТРИКА
FIT
1:1
100%

Артикул

Название

Примечание

Количество

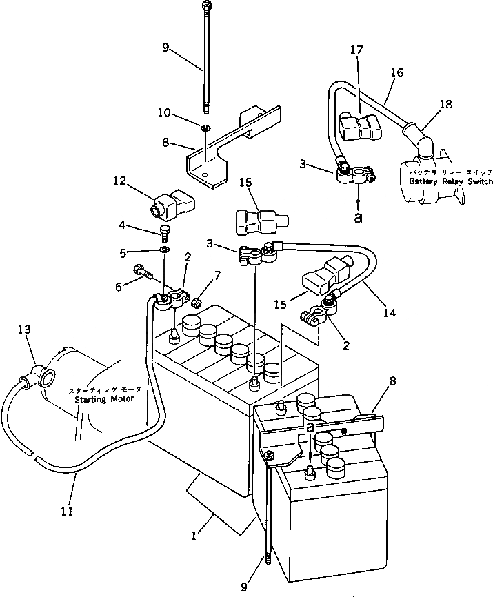
1

08000-32207

BATTERY (65D26R)

2

08000-00000

TERMINAL, (+)

3

08000-00001

TERMINAL, (-)

4

01050-31018

BOLT

5

01640-21016

WASHER

6

01010-30830

BOLT

7

01580-00806

NUT

8

201-06-31210

BRACKET

9

20B-06-21120

ROD

10

01602-00825

WASHER

11

201-06-41140

WIRE

12

08038-22009

CAP

13

08038-06031

CAP

14

101-06-21320

WIRE

15

08038-22009

CAP

16

201-06-11340

WIRE

17

20S-06-13230

TERMINAL COVER

18

08038-04030

CAP

Выбрано товаров: 18