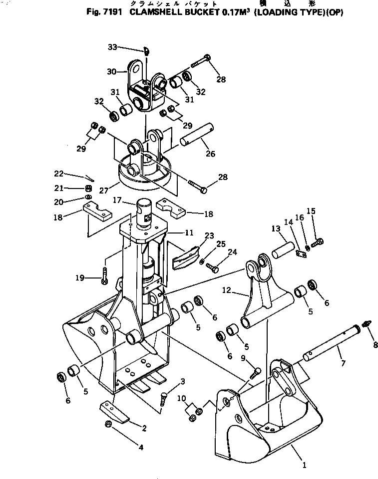
Запчасти Komatsu PC60-3 ГРЕЙФЕРН. КОВШ.7M (ПОГРУЗ.ING ТИП) РАБОЧЕЕ ОБОРУДОВАНИЕ

Схема запчастей Komatsu PC60-3 - ГРЕЙФЕРН. КОВШ.7M (ПОГРУЗ.ING ТИП) РАБОЧЕЕ ОБОРУДОВАНИЕ
FIT
1:1
100%

Артикул

Название

Примечание

Количество

|$0

201-931-0060

BUCKET ASS'Y

1

201-931-2211

SHELL,BUCKET

2

201-931-2330

TOOTH

3

02090-11060

BOLT

4

02290-11016

NUT

5

201-931-2290

BUSHING

6

07145-00050

SEAL

7

201-931-2270

PIN

8

07020-00000

FITTING

9

01011-51610

BOLT

10

01580-11613

NUT

11

201-931-2221

FRAME

12

201-931-2230

LINK

13

201-70-22130

PIN

14

04082-00212

LOCK

15

01010-51225

BOLT

16

01602-21236

WASHER

17

201-63-96101

CYLINDER ASS'Y

18

201-931-2280

PLATE

19

01013-52405

BOLT

20

01643-32460

WASHER

21

01590-12427

NUT

22

04050-15045

PIN

23

201-931-2260

SUPPORT

24

01010-51430

BOLT

25

01643-31445

WASHER

26

201-931-1380

PIN

27

201-931-2240

BRACKET

28

01011-51610

BOLT

29

01580-11613

NUT

30

201-931-4150

BRACKET

31

201-931-2290

BUSHING

32

07145-00050

SEAL

33

07020-00675

FITTING

Выбрано товаров: 34