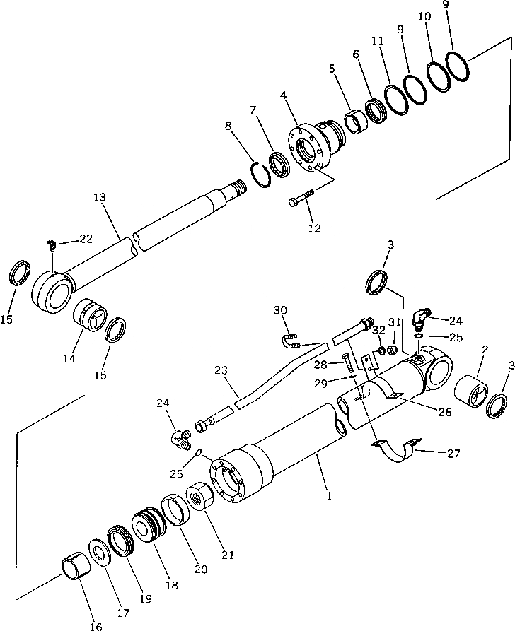
Запчасти Komatsu PC60-5 ЦИЛИНДР РУКОЯТИ РАБОЧЕЕ ОБОРУДОВАНИЕ

Схема запчастей Komatsu PC60-5 - ЦИЛИНДР РУКОЯТИ РАБОЧЕЕ ОБОРУДОВАНИЕ
FIT
1:1
100%

Артикул

Название

Примечание

Количество

|1

201-63-02020

CYLINDER ASS'Y

1

201-63-66342

CYLINDER

2

707-76-60180

BUSHING

3

07145-00060

SEAL,DUST

4

707-28-90270

HEAD,CYLINDER

5

07177-06030

BUSHING

6

707-51-60211

PACKING,ROD

7

141-63-93270

SEAL,DUST

8

07179-00082

RING,SNAP

9

07000-12090

O-RING

10

07001-02090

RING,BACK-UP

11

707-35-90950

RING,BACK-UP

12

01010-81450

BOLT

13

201-63-66321

ROD,PISTON

14

707-76-60080

BUSHING

15

07145-00060

SEAL,DUST

16

707-71-50670

PLUNGER

17

707-41-10060

PLATE

18

707-36-90371

PISTON

19

707-44-90080

RING,PISTON

20

07155-00925

RING,WEAR

21

07165-14244

NUT

22

07020-00675

FITTING,GREASE

23

201-63-66371

TUBE

24

07235-10422

ELBOW

25

07002-12034

O-RING

26

707-88-99880

BAND

27

707-88-99960

BAND

28

01010-51035

BOLT

29

01602-21030

WASHER,SPRING

30

07283-22236

CLIP

31

01599-01011

NUT

32

01643-31032

WASHER

Выбрано товаров: 33