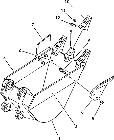
Запчасти Komatsu PC60-5 КОВШ¤ .8M ШИР. MM РАБОЧЕЕ ОБОРУДОВАНИЕ

Схема запчастей Komatsu PC60-5 - КОВШ¤ .8M ШИР. MM РАБОЧЕЕ ОБОРУДОВАНИЕ
FIT
1:1
100%

Артикул

Название

Примечание

Количество

|1

201-926-0120

BUCKET ASS'Y

1

20X-926-2510

BUCKET

2

20X-926-2520

LIP (WELDED)

3

201-70-53140

PLATE,L.H. (WELDED)

4

201-70-53130

PLATE,R.H. (WELDED)

5

20X-70-23150

ADAPTER (WELDED)

6

20X-933-1110

SIDE CUTTER,L.H.

7

20X-933-1120

SIDE CUTTER,R.H.

8

01802-02265

BOLT

9

01803-02228

NUT

10

20X-70-23160

TOOTH

11

203-70-43212

PIN

12

203-70-43220

PIN

Выбрано товаров: 13