Качественные детали и логистика
Оригинальные и аналоговые запчасти с доставкой по России, Казахстану и Беларуси
©2022 PartSell ООО "Система" ИНН 2463123282 ОГРН 1212400004838
Центральный офис: г. Красноярск, Академика Киренского, д.87, пом.4
Телефон: 8 (800) 777-65-74 Email: zakaz@partsell.ru
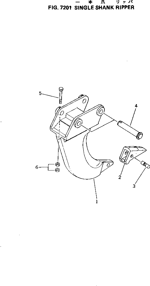
ОДНОЗУБЫЙ РЫХЛИТЕЛЬ
№
Артикул
Название
Примечание
Количество
1
201-950-1110
SHANK,RIPPER
2
131-78-31190
POINT
3
09244-02488
PIN
4
20X-70-24270
SHAFT
5
01011-51630
BOLT
6
01580-11613
NUT
Выбрано товаров: 0