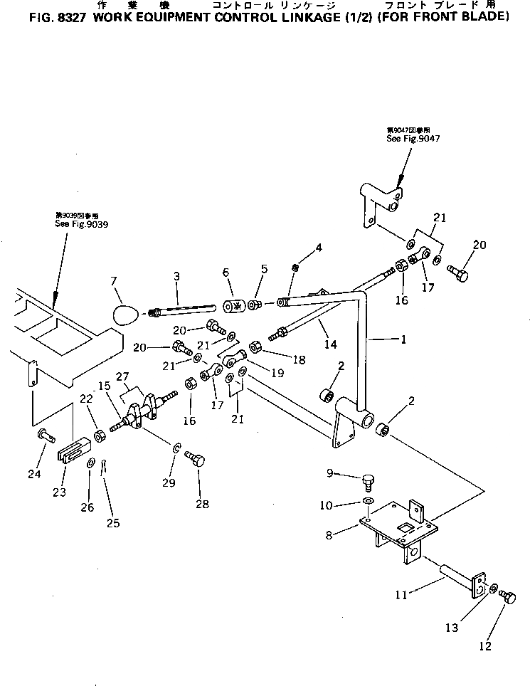
Запчасти Komatsu PC60-5 МЕХ-М УПРАВЛ-Я РАБОЧ. ОБОРУД-EM (/) (ДЛЯ ПЕРЕДН. ОТВАЛ) ОПЦИОННЫЕ КОМПОНЕНТЫ

Схема запчастей Komatsu PC60-5 - МЕХ-М УПРАВЛ-Я РАБОЧ. ОБОРУД-EM (/) (ДЛЯ ПЕРЕДН. ОТВАЛ) ОПЦИОННЫЕ КОМПОНЕНТЫ
FIT
1:1
100%

Артикул

Название

Примечание

Количество

1

201-910-5510

LEVER

2

195-61-34130

BEARING

3

23S-43-11560

LEVER

4

23S-43-11470

SCREW

5

23S-43-11550

SLEEVE

6

23S-43-11540

NUT

7

205-43-62570

KNOB

8

201-910-5590

BRACKET

9

01010-51025

BOLT

10

01643-31032

WASHER

11

20D-43-41320

SHAFT

12

01010-51020

BOLT

13

01643-31032

WASHER

14

201-910-5630

ROD

15

201-910-5520

ROD

16

01508-21006

NUT,L.H. THREAD

17

04250-61056

END,L.H. THREAD

18

01582-11008

NUT,ROD¤ L.H. THREAD

19

04250-41056

END

20

01010-51030

BOLT,ROD

21

01643-31032

WASHER

22

01582-11008

NUT

23

175-43-35181

YOKE

|23

203-43-11310

YOKE

24

04205-11030

PIN

25

04050-13015

PIN,COTTER

26

01641-21016

WASHER

27

20X-43-21490

PLATE

28

01010-50830

BOLT

29

01602-20825

WASHER,SPRING

Выбрано товаров: 30