Запчасти Komatsu PC60-5 СПЕЦ. МЕХ-М УПРАВЛ-Я РАБОЧ. ОБОРУД-EM (/) СИСТЕМА УПРАВЛЕНИЯ

Схема запчастей Komatsu PC60-5 - СПЕЦ. МЕХ-М УПРАВЛ-Я РАБОЧ. ОБОРУД-EM (/) СИСТЕМА УПРАВЛЕНИЯ
FIT
1:1
100%

Артикул

Название

Примечание

Количество

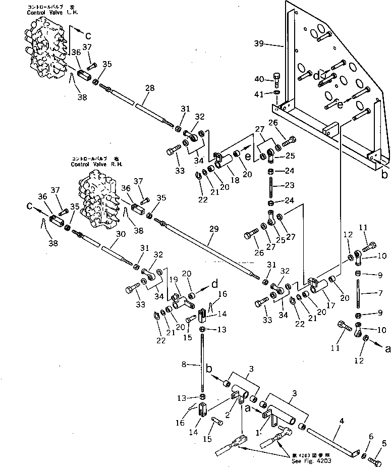
1

20X-43-21152

LEVER

2

20X-43-21161

LEVER

3

195-61-34120

BEARING

4

20X-43-21141

SHAFT

5

01010-51025

BOLT

6

01643-31032

WASHER

7

04245-41017

ROD

8

04245-41038

ROD

9

01582-11008

NUT

10

04250-41056

END,ROD

11

01010-51030

BOLT

12

04254-01032

SPACER

13

01582-11008

NUT

14

04210-21040

YOKE

15

04205-11028

PIN

16

04050-13020

PIN,COTTER

17

20X-43-21192

LEVER

18

20X-43-21212

LEVER

19

20X-43-21331

LEVER

20

195-61-34120

BEARING

21

01643-31445

WASHER

22

04064-01410

RING

23

04245-41008

ROD

24

01582-11008

NUT

25

04250-41056

END,ROD

26

01010-51030

BOLT

27

04254-01032

SPACER

28

20X-43-21380

ROD

29

20X-43-21390

ROD

30

20X-43-21270

ROD

31

01508-21006

NUT,L.H. THREAD

32

04250-61056

END,ROD¤ L.H. THREAD

33

01010-51030

BOLT

34

04254-01032

SPACER

35

01582-11008

NUT

36

201-43-21370

YOKE

37

04205-10622

PIN

38

04050-11612

PIN,COTTER

39

20X-43-21112

BRACKET

40

01010-51030

BOLT

41

01643-31032

WASHER

Выбрано товаров: 41