Запчасти Komatsu PC60-5 ПОВОРОТНОЕ СОЕДИНЕНИЕ ГИДРАВЛИКА

Схема запчастей Komatsu PC60-5 - ПОВОРОТНОЕ СОЕДИНЕНИЕ ГИДРАВЛИКА
FIT
1:1
100%

Артикул

Название

Примечание

Количество

|$0

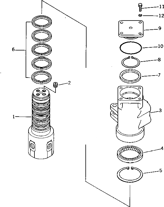
703-07-21510

SWIVEL JOINT ASS'Y

1

703-07-92520

SHAFT

2

703-08-98110

PLUG

3

703-07-91510

ROTOR

4

703-07-96110

SEAL,OIL

5

04065-09530

RING,SNAP

6

703-07-95110

SEAL,SLIPPER

7

703-07-94110

RING

8

04064-06525

RING,SNAP

9

703-07-93110

COVER

10

703-07-98120

O-RING

11

01010-51030

BOLT

12

01602-21030

WASHER,SPRING

Выбрано товаров: 13