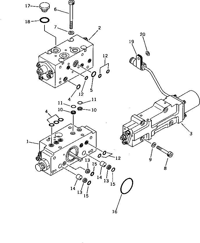
Запчасти Komatsu PC60-5 СЕРВОКЛАПАН¤ ПЕРЕДН. (/) (КРОМЕ ЯПОН.) ГИДРАВЛИКА

Схема запчастей Komatsu PC60-5 - СЕРВОКЛАПАН¤ ПЕРЕДН. (/) (КРОМЕ ЯПОН.) ГИДРАВЛИКА
FIT
1:1
100%

Артикул

Название

Примечание

Количество

|$0

708-21-01032

PUMP ASS'Y,(HPV 35+35)

|$1

708-21-01031

PUMP ASS'Y,(HPV 35+35)

|$2

708-21-01030

PUMP ASS'Y,(HPV 35+35)

|$3

708-21-10401

PUMP ASS'Y,(HPV 35+35)

|$5

708-21-07111

SERVO VALVE ASS'Y,FRONT

|$6

708-21-07110

SERVO VALVE ASS'Y,FRONT

|$7

708-21-15101

SERVO VALVE ASS'Y,FRONT

1

708-21-15200

SERVO VALVE ASS'Y,FRONT

2

708-21-07511

VALVE ASS'Y

2

708-21-07510

VALVE ASS'Y

2

708-21-17100

VALVE ASS'Y

3

708-21-07710

VALVE ASS'Y

3

708-21-18100

VALVE ASS'Y

4

07000-02011

O-RING

5

07000-02018

O-RING

6

708-25-19160

BOLT

7

01602-20825

WASHER,SPRING

8

708-25-19130

BOLT

9

01602-20825

WASHER,SPRING

10

720-68-11920

FILTER

11

07000-12010

O-RING

12

07000-11009

O-RING

13

720-68-11920

FILTER

14

708-21-19160

ORIFICE

15

07000-12010

O-RING

16

07000-03048

O-RING

17

07040-11409

PLUG

18

07002-01423

O-RING

19

08036-21814

CLIP

20

01643-30823

WASHER

Выбрано товаров: 30