Запчасти Komatsu PC60-5 СЕРВОКЛАПАН¤ ЗАДН. (/) (КРОМЕ ЯПОН.) ГИДРАВЛИКА

Схема запчастей Komatsu PC60-5 - СЕРВОКЛАПАН¤ ЗАДН. (/) (КРОМЕ ЯПОН.) ГИДРАВЛИКА
FIT
1:1
100%

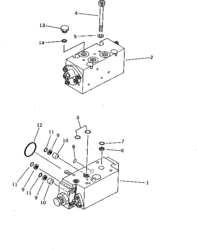
Артикул

Название

Примечание

Количество

|$0

708-21-01032

PUMP ASS'Y,(HPV 35+35)

|$1

708-21-01031

PUMP ASS'Y,(HPV 35+35)

|$2

708-21-01030

PUMP ASS'Y,(HPV 35+35)

|$3

708-21-10401

PUMP ASS'Y,(HPV 35+35)

|$5

708-21-07211

SERVO VALVE ASS'Y,REAR

|$6

708-21-07210

SERVO VALVE ASS'Y,REAR

|$7

708-21-16101

SERVO VALVE ASS'Y,REAR

1

708-21-16200

SERVO VALVE ASS'Y,REAR

2

708-21-07611

VALVE ASS'Y,CO AND NC

2

708-21-07610

VALVE ASS'Y,CO AND NC

2

708-21-17200

VALVE ASS'Y,CO AND NC

3

07000-02011

O-RING

4

708-25-19160

BOLT

5

01602-20825

WASHER,SPRING

6

720-68-11920

FILTER

7

07000-12010

O-RING

8

07000-11009

O-RING

9

720-68-11920

FILTER

10

708-21-19160

ORIFICE

11

07000-12010

O-RING

12

07000-03048

O-RING

13

07040-11409

PLUG

14

07002-01423

O-RING

Выбрано товаров: 23