Качественные детали и логистика
Оригинальные и аналоговые запчасти с доставкой по России, Казахстану и Беларуси
©2022 PartSell ООО "Система" ИНН 2463123282 ОГРН 1212400004838
Центральный офис: г. Красноярск, Академика Киренского, д.87, пом.4
Телефон: 8 (800) 777-65-74 Email: zakaz@partsell.ru
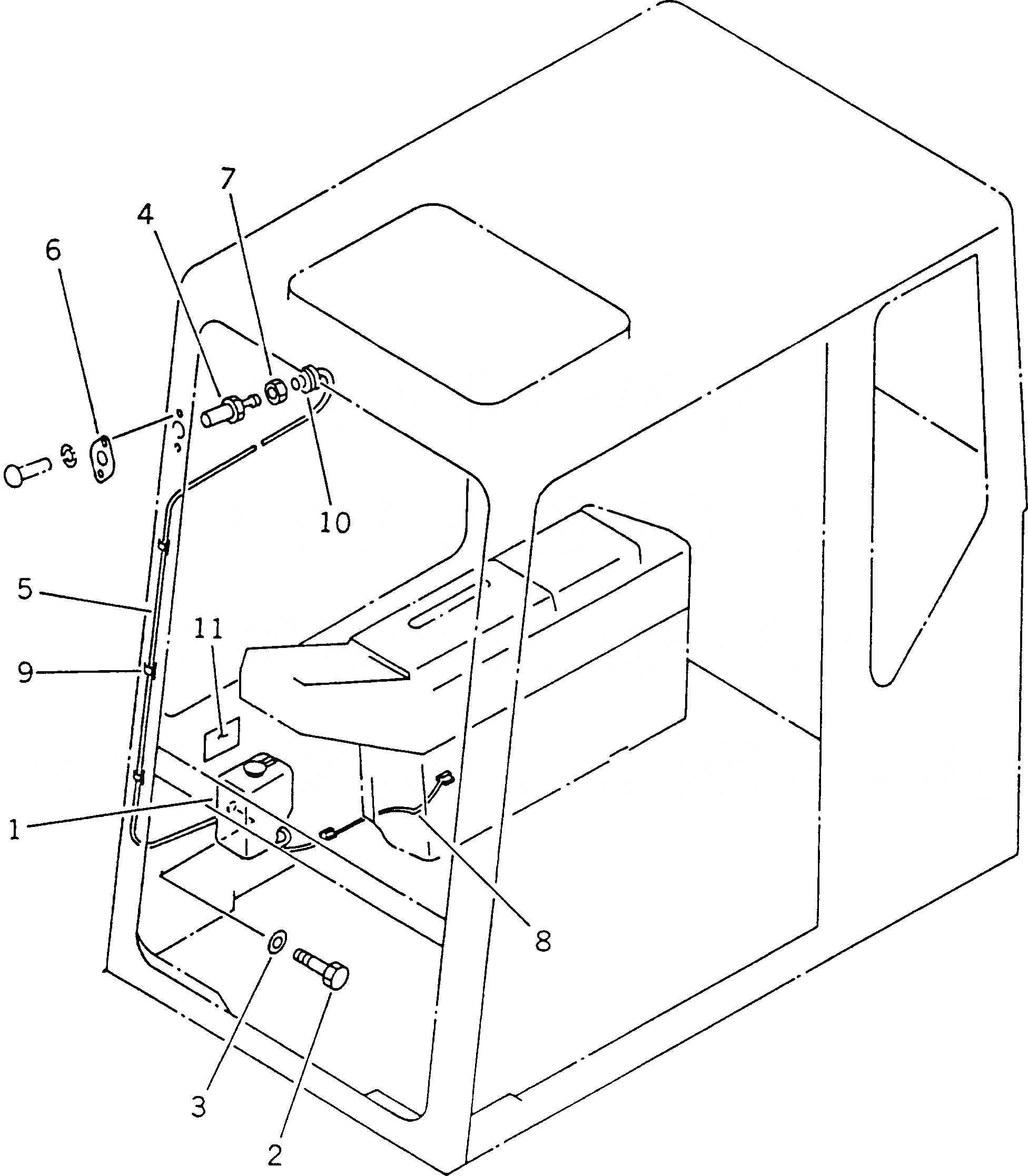
ОМЫВАТЕЛЬ СТЕКЛА (ДЛЯ УДЛИНН. РЫЧАГ УПРАВЛ-Е)
№
Артикул
Название
Примечание
Количество
1
206-06-15230
TANK
2
01010-50612
BOLT
3
01643-30623
WASHER
4
205-06-61220
NOZZLE ASS'Y
5
205-06-71470
HOSE
6
205-06-71590
BRACKET
7
205-06-71610
NUT
8
201-06-62410
WIRE ASS'Y
9
08051-00801
CLIP
10
201-54-22890
GROMMET
11
09699-00100
PLATE¤ CAUTION,(JAPANESE)
|11
09699-03000
PLATE¤ CAUTION,(ENGLISH)
Выбрано товаров: 0