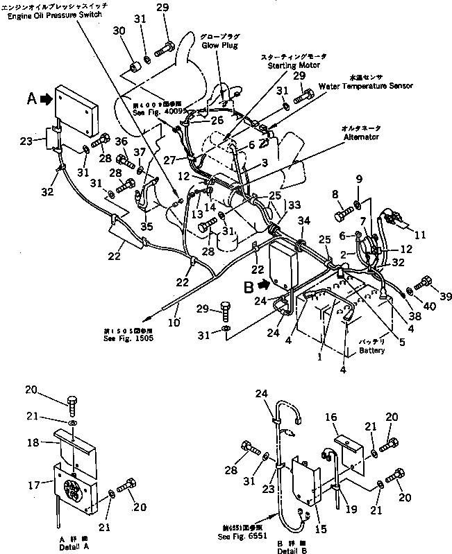
Запчасти Komatsu PC60-6 ЭЛЕКТРИКА (АККУМУЛЯТОР И ДВИГАТЕЛЬ ЗАДН. ЛИНИЯ) (INCLUDE РЕЗИН. SHOE С ОТВАЛ) (ДЛЯ УДЛИНН. РЫЧАГ) КОМПОНЕНТЫ ДВИГАТЕЛЯ И ЭЛЕКТРИКА

Схема запчастей Komatsu PC60-6 - ЭЛЕКТРИКА (АККУМУЛЯТОР И ДВИГАТЕЛЬ ЗАДН. ЛИНИЯ) (INCLUDE РЕЗИН. SHOE С ОТВАЛ) (ДЛЯ УДЛИНН. РЫЧАГ) КОМПОНЕНТЫ ДВИГАТЕЛЯ И ЭЛЕКТРИКА
FIT
1:1
100%

Артикул

Название

Примечание

Количество

1

20X-06-21160

WIRE

2

20B-06-34130

WIRE

3

201-06-61211

WIRE

|3

201-06-61210

WIRE

4

08038-22009

CAP

5

08038-22511

CAP

6

08038-04030

CAP

7

08088-10000

SWITCH,BATTERY RELAY

8

01010-50816

BOLT

9

01602-20825

WASHER,SPRING

10

201-06-62121

WIRE ASS'Y

|10

22W-06-13590

DIODE

11

203-06-57241

FUSIBLE LINK

12

08038-00519

CAP

13

20X-06-22160

WIRE ASS'Y

14

08038-00218

CAP

15

201-06-62231

COVER

16

201-06-62240

COVER

17

201-06-62211

COVER

18

201-06-62220

COVER

19

08036-00814

CLIP

20

01010-51020

BOLT

21

01643-31032

WASHER

22

08036-01814

CLIP

23

08036-02514

CLIP

24

08036-00814

CLIP

25

08036-03014

CLIP

26

08036-10614

CLIP

27

08036-10814

CLIP

28

01010-51016

BOLT

29

01010-51045

BOLT

30

195-33-11220

SPACER

|30

144-879-7470

BOSS

31

01643-31032

WASHER

32

08034-00414

BAND

33

201-06-61370

GROMMET

34

08037-05016

GROMMET

35

20X-06-21170

WIRE

36

01010-51016

BOLT

37

08038-00218

CAP

38

20X-06-21160

WIRE

39

01010-51016

BOLT

40

01643-31032

WASHER

Выбрано товаров: 43