Запчасти Komatsu PC60-6 КАБИНА (/7) (ПЕРЕДН. И ПРАВ. БОКОВ. ОКНА) (ДЛЯ NORWAY) ЧАСТИ КОРПУСА

Схема запчастей Komatsu PC60-6 - КАБИНА (/7) (ПЕРЕДН. И ПРАВ. БОКОВ. ОКНА) (ДЛЯ NORWAY) ЧАСТИ КОРПУСА
FIT
1:1
100%

Артикул

Название

Примечание

Количество

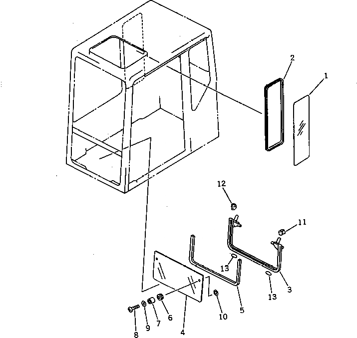
1

20Y-54-13681

GLASS

2

20Y-54-13691

WEATHER STRIP

3

20Y-54-11841

FRAME

3

20Y-54-11860

LATCH,L.H.

3

20Y-54-11870

LATCH,R.H.

4

20Y-54-11321

GLASS

5

20Y-54-11430

WEATHER STRIP

6

08037-01610

GROMMET

7

20Y-54-14340

COLLAR

8

01225-70830

SCREW

9

20Y-54-14330

WASHER

10

01643-31645

WASHER

11

20Y-54-11471

SEAL

12

20Y-54-11481

SEAL

13

20Y-54-14550

SEAT

Выбрано товаров: 15