Запчасти Komatsu PC60-6 ЭЛЕКТРИКА (РАБОЧ. ОСВЕЩЕНИЕ И ЗВУК. СИГНАЛ. ЛИНИЯ) (INCLUDE СПЕЦИФ-Я С ОТВАЛОМ)(ДЛЯ NORWAY СПЕЦ-Я.) КОМПОНЕНТЫ ДВИГАТЕЛЯ И ЭЛЕКТРИКА

Схема запчастей Komatsu PC60-6 - ЭЛЕКТРИКА (РАБОЧ. ОСВЕЩЕНИЕ И ЗВУК. СИГНАЛ. ЛИНИЯ) (INCLUDE СПЕЦИФ-Я С ОТВАЛОМ)(ДЛЯ NORWAY СПЕЦ-Я.) КОМПОНЕНТЫ ДВИГАТЕЛЯ И ЭЛЕКТРИКА
FIT
1:1
100%

Артикул

Название

Примечание

Количество

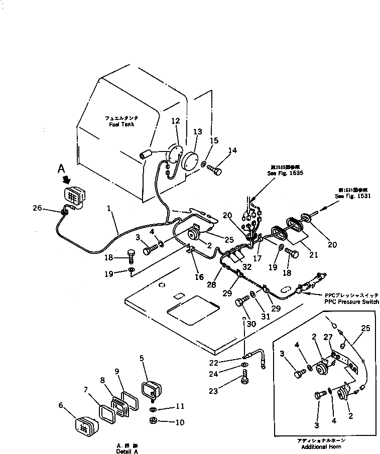
1

201-06-63120

WIRE ASS'Y,(SEE FIG.1531)

2

08160-52400

HORN

2

08160-52410

HORN,(ADDITIONAL)

3

01010-50816

BOLT

3

01010-50816

BOLT,(ADDITIONAL HORN)

4

01602-20825

WASHER,SPRING

4

01643-30823

WASHER,SPRING

|$7

203-06-56140

LAMP ASS'Y

5

HOUSING

6

22W-06-12170

BULB

7

203-06-56180

RING

8

22W-06-12290

CUSHION

9

203-06-56190

RING

10

01582-11411

NUT

11

01643-31445

WASHER

12

7861-92-4800

SENSOR,FUEL LEVEL (SEE FIG.1301,6001)

13

201-06-62310

COVER

14

01010-51065

BOLT

15

01643-31032

WASHER

16

08036-01414

CLIP

17

08036-02514

CLIP

18

01010-51016

BOLT

19

01643-31032

WASHER

20

150-95-27160

GROMMET

21

201-06-61220

GROMMET

22

20X-06-21170

WIRE

23

01010-51016

BOLT

24

01643-31032

WASHER

25

201-06-63140

WIRE

25

201-06-63150

WIRE,(ADDITIONAL HORN)

26

08037-02512

GROMMET

27

201-06-63160

PLATE,(ADDITIONAL HORN)

28

21P-06-21260

WIRING HARNESS

29

08036-00814

CLIP

30

01010-51020

BOLT

31

01643-31032

WASHER

32

08034-00414

BAND

Выбрано товаров: 37