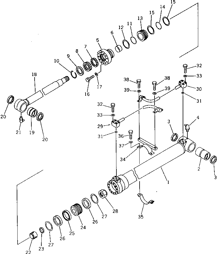
Запчасти Komatsu PC60-6 ЦИЛИНДР СТРЕЛЫ РАБОЧЕЕ ОБОРУДОВАНИЕ

Схема запчастей Komatsu PC60-6 - ЦИЛИНДР СТРЕЛЫ РАБОЧЕЕ ОБОРУДОВАНИЕ
FIT
1:1
100%

Артикул

Название

Примечание

Количество

|$0

201-63-02200

CYLINDER ASS'Y

1

201-63-54140

CYLINDER

2

707-76-65230

BUSHING

3

07145-00065

SEAL,DUST (KIT)

4

07020-00675

FITTING,GREASE

5

707-27-10610

HEAD,CYLINDER

6

707-52-90400

BUSHING

7

707-51-65630

RING,BUFFER (KIT)

8

707-51-65030

PACKING,ROD (KIT)

9

144-63-92170

SEAL,DUST (KIT)

10

07179-12079

RING,SNAP

11

07000-15095

O-RING (KIT)

12

07001-05095

RING,BACK-UP (KIT)

13

707-71-32310

COLLAR

14

07000-15095

O-RING (KIT)

15

07001-05095

RING,BACK-UP (KIT)

16

01010-81465

BOLT

17

705-17-04980

WASHER

18

201-63-54120

ROD,PISTON

19

707-76-65040

BUSHING

20

07145-00065

SEAL,DUST (KIT)

21

07020-00675

FITTING,GREASE

22

707-71-60681

PLUNGER

23

707-41-10190

WASHER

24

707-36-10210

PISTON

25

707-44-10180

RING,PISTON (KIT)

26

707-39-10110

RING,WEAR (KIT)

27

707-44-10411

RING

28

07165-14547

NUT

29

201-63-54170

TUBE

30

201-63-54181

TUBE

30

201-63-54180

TUBE

31

07000-13025

O-RING (KIT)

32

01010-50850

BOLT

33

01643-50823

WASHER

34

707-88-95620

BRACKET

35

707-88-95020

BAND

36

01010-51035

BOLT

37

01643-51032

WASHER

38

01010-51020

BOLT

39

01643-31032

WASHER

Выбрано товаров: 41