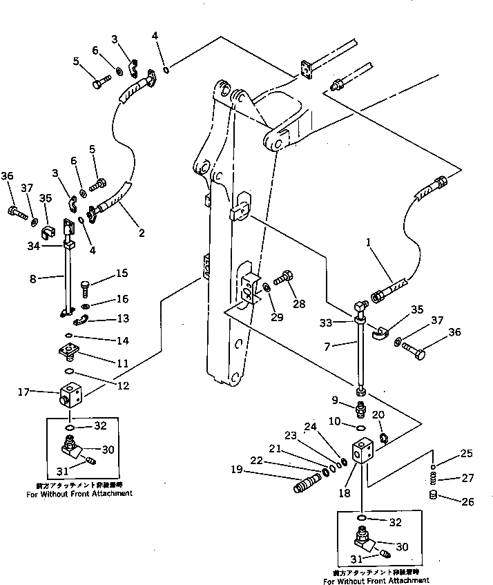
Запчасти Komatsu PC60-6 ГИДРОЛИНИЯ (ДЛЯ НАВЕСНОЕ ОБОРУД-Е) (РУКОЯТЬ)(№-) РАБОЧЕЕ ОБОРУДОВАНИЕ

Схема запчастей Komatsu PC60-6 - ГИДРОЛИНИЯ (ДЛЯ НАВЕСНОЕ ОБОРУД-Е) (РУКОЯТЬ)(№-) РАБОЧЕЕ ОБОРУДОВАНИЕ
FIT
1:1
100%

Артикул

Название

Примечание

Количество

1

07096-20411

HOSE

2

07099-20612

HOSE

3

07371-30640

FLANGE,SPLIT

4

07000-13025

O-RING

5

07372-21035

BOLT

6

01643-51032

WASHER

7

201-973-6631

TUBE

8

201-973-6642

TUBE

9

233-60-16460

NIPPLE

10

07002-13334

O-RING

11

201-973-6810

NIPPLE

12

07002-13334

O-RING

13

07371-30640

FLANGE,SPLIT

14

07000-13025

O-RING

15

07372-21035

BOLT

16

01643-51032

WASHER

17

203-973-5801

VALVE ASS'Y

18

203-973-3911

BODY

19

203-973-3921

SPOOL

20

04064-03818

RING

21

07000-13035

O-RING

22

07001-03035

RING

23

07000-13032

O-RING

24

07001-03032

RING

25

04260-00793

BALL

26

07043-00108

PLUG

27

236-10-12240

SPRING

28

01010-51020

BOLT

29

01643-31032

WASHER

30

203-973-5730

ELBOW

31

07042-70617

PLUG

32

07002-13334

O-RING

33

203-62-43390

CUSHION

34

203-62-43380

CUSHION

35

203-62-43370

CLAMP

36

01010-51270

BOLT

37

01643-31232

WASHER

Выбрано товаров: 0