Запчасти Komatsu PC60-6 ЭЛЕКТРИКА (ДОПОЛН. ДВОРНИКИ И ПЕРЕДН. ОСВЕЩЕНИЕ) (INCLUDE СПЕЦИФ-Я С ОТВАЛОМ) (ДЛЯ NORWAY СПЕЦ-Я.) КОМПОНЕНТЫ ДВИГАТЕЛЯ И ЭЛЕКТРИКА

Схема запчастей Komatsu PC60-6 - ЭЛЕКТРИКА (ДОПОЛН. ДВОРНИКИ И ПЕРЕДН. ОСВЕЩЕНИЕ) (INCLUDE СПЕЦИФ-Я С ОТВАЛОМ) (ДЛЯ NORWAY СПЕЦ-Я.) КОМПОНЕНТЫ ДВИГАТЕЛЯ И ЭЛЕКТРИКА
FIT
1:1
100%

Артикул

Название

Примечание

Количество

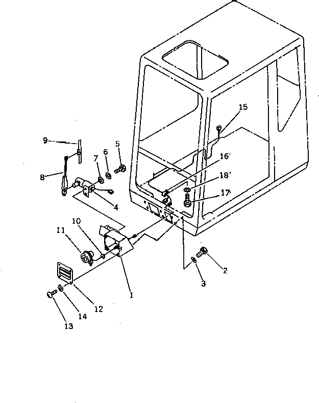
1

201-54-63380

BRACKET

2

01010-51020

BOLT

3

01643-31032

WASHER

4

198-911-3380

WIPER MOTOR ASS'Y

5

01220-40516

SCREW

6

01601-20513

WASHER,SPRING

7

01641-20508

WASHER

8

08184-30350

ARM

9

08185-00300

BLADE

10

08037-02512

GROMMET

11

203-06-56140

LAMP ASS'Y

12

201-54-63390

COVER

13

01220-40812

SCREW

14

01641-20812

WASHER

15

201-06-63210

WIRING HARNESS

16

08036-01414

CLIP

17

01010-51016

BOLT

18

01643-31032

WASHER

Выбрано товаров: 0