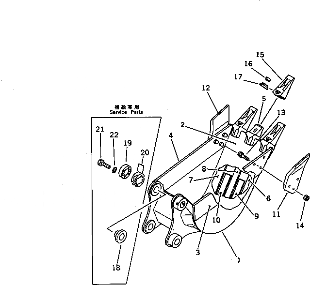
Запчасти Komatsu PC60-6 КОВШ¤ .M ШИР. MM РАБОЧЕЕ ОБОРУДОВАНИЕ

Схема запчастей Komatsu PC60-6 - КОВШ¤ .M ШИР. MM РАБОЧЕЕ ОБОРУДОВАНИЕ
FIT
1:1
100%

Артикул

Название

Примечание

Количество

|$0

201-926-0110

BUCKET ASS'Y

1

20X-926-2410

BUCKET

2

20X-926-2420

LIP (WELDED)

3

20X-926-1331

PLATE,L.H. (WELDED)

4

20X-926-1341

PLATE,R.H. (WELDED)

5

20X-70-23150

ADAPTER (WELDED)

6

20X-926-2350

PLATE (WELDED)

7

20X-926-2360

PLATE (WELDED)

8

20X-926-2450

PLATE (WELDED)

9

20X-926-2470

PLATE (WELDED)

10

20X-926-2460

PLATE (WELDED)

11

20X-933-1110

SIDE CUTTER,L.H.

12

20X-933-1120

SIDE CUTTER,R.H.

13

01802-02268

BOLT

14

01803-02228

NUT

15

20X-70-23160

TOOTH

16

203-70-43212

PIN

17

203-70-43220

LOCK

18

20X-70-24231

SPACER,(SERVICE PARTS)

19

20X-70-24241

PLATE,(SERVICE PARTS)

20

20X-70-24250

PLATE, 0.5MM,(SERVICE PARTS)

21

01010-51260

BOLT,(SERVICE PARTS)

22

01643-31232

WASHER,(SERVICE PARTS)

Выбрано товаров: 23