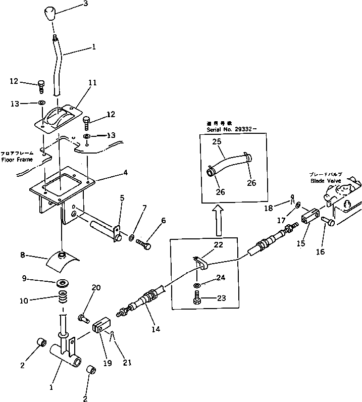
Запчасти Komatsu PC60-6 РЫЧАГ УПРАВЛЕНИЯ ОТВАЛОМ (ДЛЯ WRIST РЫЧАГ УПРАВЛ-Я) СИСТЕМА УПРАВЛЕНИЯ И ОСНОВНАЯ РАМА

Схема запчастей Komatsu PC60-6 - РЫЧАГ УПРАВЛЕНИЯ ОТВАЛОМ (ДЛЯ WRIST РЫЧАГ УПРАВЛ-Я) СИСТЕМА УПРАВЛЕНИЯ И ОСНОВНАЯ РАМА
FIT
1:1
100%

Артикул

Название

Примечание

Количество

1

201-910-6810

LEVER

2

195-61-34120

BEARING

3

203-43-41910

KNOB

4

201-910-6830

BRACKET

5

201-910-6840

SHAFT

6

01010-50820

BOLT

7

01643-30823

WASHER

8

20S-43-11230

COVER

9

20S-43-11250

SPACER

10

09340-10130

SPRING

11

201-910-6820

COVER

12

01010-51030

BOLT

13

01643-31032

WASHER

14

201-910-6850

CABLE

15

104-43-25190

YOKE

16

04205-10518

PIN

17

01641-20508

WASHER

18

04050-11215

PIN,COTTER

19

04211-20634

YOKE

20

04205-10618

PIN

21

04050-11615

PIN,COTTER

22

08036-01014

CLIP

23

01010-51016

BOLT

24

01643-31032

WASHER

25

203-62-41160

COVER

26

08034-00414

BAND

Выбрано товаров: 0