Запчасти Komatsu PC60-6 ОСНОВНАЯ РАМА (INCLUDE СПЕЦИФ-Я С ОТВАЛОМ) (ДЛЯ NORWAY СПЕЦ-Я.)(№-) СИСТЕМА УПРАВЛЕНИЯ И ОСНОВНАЯ РАМА

Схема запчастей Komatsu PC60-6 - ОСНОВНАЯ РАМА (INCLUDE СПЕЦИФ-Я С ОТВАЛОМ) (ДЛЯ NORWAY СПЕЦ-Я.)(№-) СИСТЕМА УПРАВЛЕНИЯ И ОСНОВНАЯ РАМА
FIT
1:1
100%

Артикул

Название

Примечание

Количество

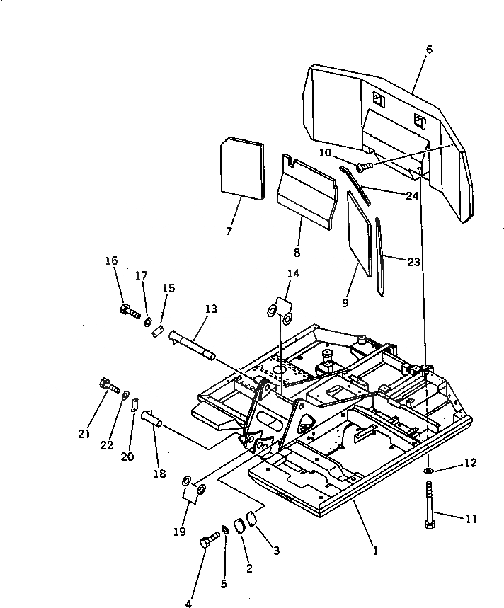
1

201-46-65223

REVOLVING FRAME A.

1

201-46-65222

REVOLVING FRAME A.

1

201-46-65113

REVOLVING FRAME A.,(FOR BLADE SPEC.)

1

201-46-65112

REVOLVING FRAME A.,(FOR BLADE SPEC.)

2

203-46-56160

COVER

3

203-46-31181

GASKET

4

01010-51230

BOLT

5

01643-31232

WASHER

6

201-46-64111

WEIGHT,COUNTER

7

201-46-62120

SHEET

8

201-46-62130

SHEET

9

201-46-62140

SHEET

10

01370-00508

SCREW

11

01011-52010

BOLT

12

01643-32060

WASHER

13

201-70-61210

SHAFT

14

203-70-34260

SPACER, 0.5MM

14

202-70-11640

SPACER, 1.0MM

15

203-46-56270

PLATE

16

01010-51230

BOLT

17

01643-31232

WASHER

18

201-70-61240

SHAFT

19

202-70-48460

SPACER, 1.0MM

19

203-70-44430

SPACER, 2.0MM

20

203-46-56270

PLATE

21

01010-51230

BOLT

22

01643-31232

WASHER

23

201-46-62210

SHEET,(FOR DIRT PROTECTION)

24

201-46-62220

SHEET,(FOR DIRT PROTECTION)

Выбрано товаров: 0