Запчасти Komatsu PC60-6 НИЖН. КРЫШКА (УСИЛЕНН.) (EXCEPT РЕЗИН. SHOE И СПЕЦИФ-Я С ОТВАЛОМ)(№8-8) ЧАСТИ КОРПУСА

Схема запчастей Komatsu PC60-6 - НИЖН. КРЫШКА (УСИЛЕНН.) (EXCEPT РЕЗИН. SHOE И СПЕЦИФ-Я С ОТВАЛОМ)(№8-8) ЧАСТИ КОРПУСА
FIT
1:1
100%

Артикул

Название

Примечание

Количество

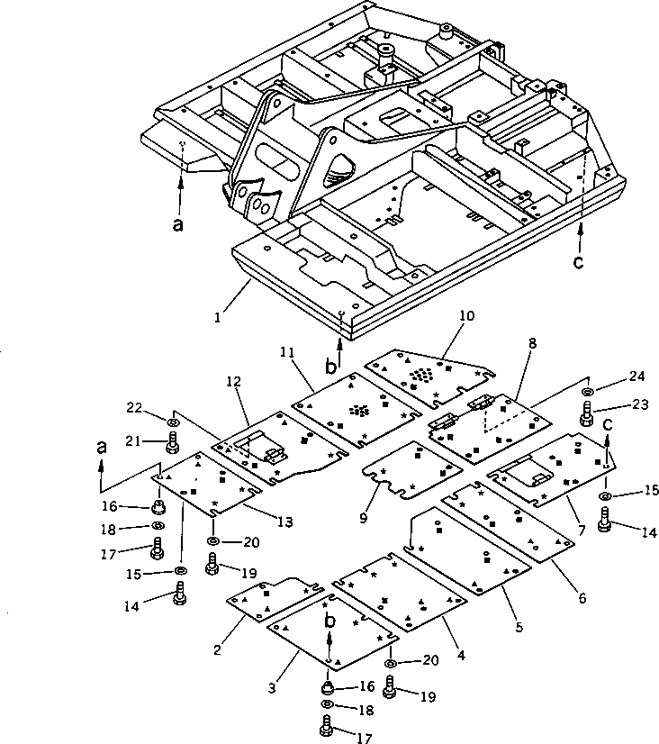
1

201-46-63300

FRAME,REVOLVING

2

201-54-62610

COVER

3

201-54-62620

COVER

4

201-54-62640

COVER

5

201-54-62670

COVER

6

201-54-62690

COVER

7

201-54-62710

COVER

8

201-54-62740

COVER

9

201-54-62750

COVER

10

201-54-62760

COVER

11

201-54-62770

COVER

12

201-54-62780

COVER

13

201-54-62820

COVER

14

01010-51030

BOLT

15

01643-31032

WASHER

16

203-54-55660

COLLAR

17

01010-51030

BOLT

18

01643-31032

WASHER

19

01010-51030

BOLT

20

203-54-56970

WASHER

21

01010-51020

BOLT

22

01643-31032

WASHER

23

01010-51025

BOLT

24

01643-31032

WASHER

Выбрано товаров: 24